BRAKE PAD
BRAKE PAD : Inspection
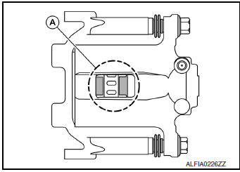
INSPECTION
Check brake pad wear thickness from an inspection hole (A) on cylinder body. Check using a scale if necessary.

Wear thickness : Refer to BR-55, "Rear Disc Brake".
DISC BRAKE ROTOR
DISC BRAKE ROTOR : Inspection
Appearance
Check surface of disc brake rotor for uneven wear, cracks or damage. Replace if any abnormal conditions exist.
Runout
Runout : Refer to BR-55, "Rear Disc Brake".

Tool number : 38-PFM92
CAUTION:
Wear thickness : Refer to BR-55, "Rear Disc Brake".
Thickness
Check the thickness of the disc brake rotor using a micrometer.
Replace the disc brake rotor if the thickness is below the minimum thickness.

Minimum thickness : Refer to BR-55, "Rear Disc
Brake".
Thickness variation : Refer to BR-55, "Rear Disc
Brake".
Front disc brakeSymptom diagnosis
SQUEAK AND RATTLE TROUBLE DIAGNOSES
Work Flow
CUSTOMER INTERVIEW
Interview the customer if possible, to determine the conditions that exist
when the noise occurs. Use the Diagnostic
Worksheet during the interview to document the facts and conditions when the
noise occurs and any
custome ...
Diagnosis system (BCM) (with intelligent key system)
COMMON ITEM
COMMON ITEM : CONSULT Function (BCM - COMMON ITEM)
APPLICATION ITEM
CONSULT performs the following functions via CAN communication with BCM.
Direct Diagnostic Mode
Description
Ecu Identification
The BCM part number is displayed.
Self Diagnostic ...
The low washer fluid warning continues displaying, or
does not display
Description
The warning is still displayed even after washer fluid is added.
The warning is not displayed even though the washer tank is empty.
Diagnosis Procedure
1.CHECK WASHER FLUID LEVEL SWITCH SIGNAL CIRCUIT
Check the washer fluid level switch signal circuit. Refer to MWI-71,
" ...