COMPONENT PARTS
BODY CONTROL SYSTEM
BODY CONTROL SYSTEM : Component Parts Location

POWER CONSUMPTION CONTROL SYSTEM
POWER CONSUMPTION CONTROL SYSTEM : Component Parts Location

SYSTEM
BODY CONTROL SYSTEM
BODY CONTROL SYSTEM : System Description
OUTLINE
It also has a signal transmission function for other systems, and a power consumption control function that reduces the power consumption with the ignition switch OFF.
BCM FUNCTION LIST

COMBINATION SWITCH READING SYSTEM
COMBINATION SWITCH READING SYSTEM : System Description
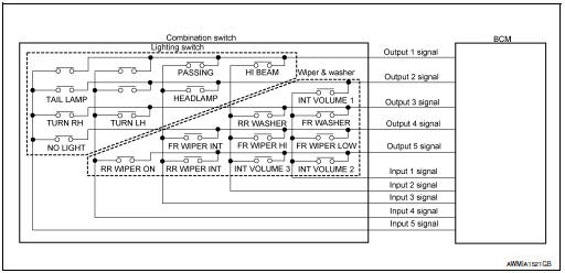
SYSTEM DIAGRAM

OUTLINE
COMBINATION SWITCH MATRIX
Combination switch circuit

Combination switch INPUT-OUTPUT system list

COMBINATION SWITCH READING FUNCTION
Description

NOTE: BCM reads the status of the combination switch at 60 ms intervals when BCM is controlled at low power consumption control mode.

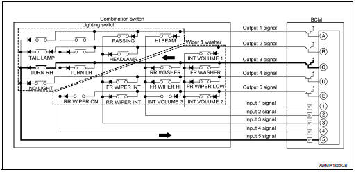
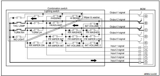
Operation Example
In the following operation example, the combination of the status signals of the combination switch is replaced as follows: INPUT 1 - 5 to “1 - 5” and OUTPUT 1 - 5 to “A - E”.
Example 1: When a switch (TURN RH) is turned ON

Example 2: When some switches (TAIL LAMP, TURN RH) are turned ON

WIPER INTERMITTENT DIAL POSITION SETTING (FRONT WIPER INTERMITTENT OPERATION)
BCM judges the wiper intermittent dial 1 - 4 by the status of INT VOLUME 1, 2, and 3 switches.

SIGNAL BUFFER SYSTEM
SIGNAL BUFFER SYSTEM : System Description
SYSTEM DIAGRAM

OUTLINE
BCM has the signal transmission function that outputs/transmits each input/received signal to each unit.
SIGNAL TRANSMISSION FUNCTION LIST
|
Signal name |
Input |
Output |
Description |
|
Ignition switch | IPDM E/R (CAN) | Inputs the ignition switch signal and transmits the ignition switch status judged with BCM via CAN communication. |
| Door switch signal | Any door switch |
|
Inputs the door switch signal and transmits it via CAN communication. |
POWER CONSUMPTION CONTROL SYSTEM
POWER CONSUMPTION CONTROL SYSTEM : System Description
SYSTEM DIAGRAM

OUTLINE
Normal mode (wake-up)
CAN communication sleep mode (CAN sleep)
Low power consumption mode (BCM sleep)
LOW POWER CONSUMPTION CONTROL WITH BCM
BCM reduces the power consumption with the following operation in the low power consumption mode.
SLEEP MODE ACTIVATION
Sleep condition
|
CAN sleep condition |
BCM sleep condition |
|
|
WAKE-UP OPERATION
|
BCM wake-up condition |
CAN wake-up condition |
|
|
SHIPPING MODE CONTROL SYSTEM
SHIPPING MODE CONTROL SYSTEM : System Description
SYSTEM DIAGRAM

DESCRIPTION
*: When shipping mode function operates, “SHIPPING MODE ON PUSH STORAGE FUSE” is displayed.
DIAGNOSIS SYSTEM (BCM)
COMMON ITEM
COMMON ITEM : CONSULT Function (BCM - COMMON ITEM)
APPLICATION ITEM
CONSULT performs the following functions via CAN communication with BCM.
|
Direct Diagnostic Mode |
Description |
| Ecu Identification | The BCM part number is displayed. |
| Self Diagnostic Result | The BCM self diagnostic results are displayed. |
| Data Monitor | The BCM input/output data is displayed in real time. |
| Active Test | The BCM activates outputs to test components. |
| Work support | The settings for BCM functions can be changed. |
| Configuration |
|
| CAN Diag Support Mntr | The result of transmit/receive diagnosis of CAN communication is displayed. |
SYSTEM APPLICATION
BCM can perform the following functions.

DOOR LOCK
DOOR LOCK : CONSULT Function (BCM - DOOR LOCK)
SELF DIAGNOSTIC RESULT
Refer to BCS-108, "DTC Index".
DATA MONITOR

ACTIVE TEST

WORK SUPPORT

WORK SUPPORT
REAR DEFOGGER
REAR DEFOGGER : CONSULT Function (BCM - REAR DEFOGGER)
DATA MONITOR

ACTIVE TEST

WORK SUPPORT

* : Initial setting
BUZZER
BUZZER : CONSULT Function (BCM - BUZZER)
DATA MONITOR

ACTIVE TEST

INT LAMP
INT LAMP : CONSULT Function (BCM - INT LAMP)
DATA MONITOR

ACTIVE TEST

WORK SUPPORT

*: Initial setting
MULTI REMOTE ENT
MULTI REMOTE ENT : CONSULT Function (BCM - MULTI REMOTE ENT)
WORK SUPPORT

HEADLAMP
HEADLAMP : CONSULT Function (BCM - HEADLAMP)
DATA MONITOR

ACTIVE TEST

WIPER
WIPER : CONSULT Function (BCM - WIPER)
DATA MONITOR

ACTIVE TEST

WORK SUPPORT

*: Initial Setting
FLASHER
FLASHER : CONSULT Function (BCM - FLASHER)
DATA MONITOR

ACTIVE TEST

COMB SW
COMB SW : CONSULT Function (BCM - COMB SW)
DATA MONITOR

BCM
BCM : CONSULT Function (BCM - BCM)
ECU IDENTIFICATION
The BCM part number is displayed.
SELF DIAGNOSTIC RESULT
Refer to BCS-108, "DTC Index".
WORK SUPPORT

CONFIGURATION
Refer to BCS-121, "CONFIGURATION (BCM) : Description".
CAN DIAG SUPPORT MNTR
Refer to LAN-14, "CAN Diagnostic Support Monitor".
IMMU
IMMU : CONSULT Function (BCM - IMMU)
SELF DIAGNOSTIC RESULT
Refer to BCS-108, "DTC Index".
ACTIVE TEST

WORK SUPPORT

BATTERY SAVER
BATTERY SAVER : CONSULT Function (BCM - BATTERY SAVER)
DATA MONITOR

ACTIVE TEST

TRUNK
TRUNK : CONSULT Function (BCM - TRUNK)
DATA MONITOR

THEFT ALM
THEFT ALM : CONSULT Function (BCM - THEFT ALM)
DATA MONITOR

ACTIVE TEST

WORK SUPPORT

RETAINED PWR
RETAINED PWR : CONSULT Function (BCM - RETAINED PWR)
DATA MONITOR

AIR PRESSURE MONITOR
AIR PRESSURE MONITOR : CONSULT Function (BCM-AIR PRESSURE MONITOR)
NOTE: The Signal Tech II Tool (J-50190) can be used to perform the following functions. Refer to the Signal Tech II User Guide for additional information.
SELF DIAGNOSTIC RESULT
NOTE: Before performing Self Diagnostic Result, be sure to register the sensor ID or the actual malfunction may be different from that displayed on CONSULT.
Refer to BCS-108, "DTC Index".
DATA MONITOR


ACTIVE TEST

WORK SUPPORT

Preparation
ECU diagnosis informationPrecaution
Precaution for Supplemental Restraint System (SRS) "AIR BAG" and "SEAT
BELT
PRE-TENSIONER"
The Supplemental Restraint System such as “AIR BAG” and “SEAT BELT PRE-TENSIONER”,
used along
with a front seat belt, helps to reduce the risk or severity of injury to the
...
Supplemental air bag warning labels
SRS Air Bag Warning Labels
SRS Air Bag Warning Labels
The warning labels are located on the surface
of the sun visor.
Warning labels about the supplemental frontimpact
air bag system are placed in the vehicle as
shown in the illustration.
WARNINGExtreme Hazard! Do not us ...
P0139 HO2S2
DTC Description
DTC DETECTION LOGIC
The heated oxygen sensor 2 has a much longer switching time
between rich and lean than the air fuel ratio (A/F) sensor 1. The oxygen
storage capacity of the three way catalyst 1 causes the longer
switching time. To judge the malfunctions of heated oxygen sens ...