System Description
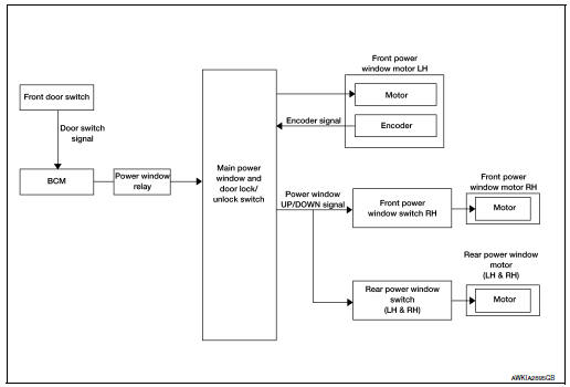
SYSTEM DIAGRAM

POWER WINDOW OPERATION
POWER WINDOW AUTO-OPERATION (FRONT DRIVER SIDE)
RETAINED POWER OPERATION
Retained power operation is an additional power supply function that enables power window system to operate for 45 seconds even when power switch is turned OFF.
RETAINED POWER CANCEL CONDITIONS
POWER WINDOW LOCK
Ground circuit inside main power window and door lock/unlock switch shuts off when power window lock switch is ON. This inhibits power window switch operation except with the main power window and door lock/ unlock switch.
ANTI-PINCH SYSTEM (FRONT DRIVER SIDE)
OPERATION CONDITION
NOTE: Depending on environment and driving conditions, if a similar impact or load is applied to the door glass, it may lower.
Fail Safe
FAIL-SAFE CONTROL
Switches to fail-safe control when malfunction is detected in encoder signal that detects up/down speed and direction of door glass. Switches to fail-safe control when error beyond regulation value is detected between the fully closed position and the actual position of the glass.
|
Error |
Error condition |
| Pulse sensor malfunction | When only one side of pulse signal is being detected for more than the specified value. |
| Both pulse sensors malfunction | When both pulse signals have not been detected for more than the specified value during glass open/close operation. |
| Pulse direction malfunction | When the pulse signal that is detected during glass open/close operation detects the opposite condition of power window motor operating direction. |
| Glass recognition position malfunction 1 | When it detects the error between glass fully closed position in power window switch memory and actual fully closed position during glass open/close operation is more than the specified value. |
| Glass recognition position malfunction 2 | When it detects pulse count more than the value of glass full stroke during glass open/close operation. |
It changes to condition before initialization and the following functions do not operate when switched to failsafe control.
Perform initial operation to recover when switched to fail-safe mode. However, it switches back to fail-safe control when malfunction is found in power window switch or in the motor.
Component parts
Diagnosis system (BCM) (with intelligent key system)Precaution
Precaution for Supplemental Restraint System (SRS) "AIR BAG" and "SEAT
BELT
PRE-TENSIONER"
The Supplemental Restraint System such as “AIR BAG” and “SEAT BELT PRE-TENSIONER”,
used along
with a front seat belt, helps to reduce the risk or severity of injury to the
...
NISSAN Intelligent Key® (if so equipped)
Your vehicle can only be driven with the Intelligent
Keys which are registered to your vehicle’s Intelligent
Key system components and NISSAN Vehicle
Immobilizer System components. As many
as four Intelligent Keys can be registered and
used with one vehicle. The new keys must be
registered b ...
Door sash molding
Exploded View
Front door sash molding
Rear door rear sash molding
Front door panel
Rear door panel
Roof rail side outer
Body side outer
Rear door weather strip
Rear door glass
Removal and Installation
FRONT DOOR
Removal
Remove door mirror. Refer to MIR-22, &q ...