Nissan Rogue Service Manual: Removal and installation
FRONT WHEEL HUB
Exploded View

- Wheel hub and bearing
- Cotter pin
- Nut retainer
- Wheel hub lock nut
- Hub bolt
- Splash guard
- Steering knuckle
Removal and Installation
REMOVAL
- Remove front wheel and tire using power tool. Refer to WT-57,
"Adjustment".
- Remove the bolt (1) and separate the front wheel sensor from
the steering knuckle. Refer to BRC-132, "FRONT WHEEL SENSOR
: Exploded View".
CAUTION:
- Failure to separate the front wheel sensor from the steering
knuckle may result in damage to the front wheel sensor.
- Pull out the front wheel sensor, being careful to turn it as
little as possible. Do not pull on wheel sensor harness.

- Remove brake caliper torque member bolts, leaving brake hose attached,
reposition the caliper aside with
wire. Refer to BR-35, "BRAKE CALIPER ASSEMBLY (1 PISTON TYPE) : Exploded
View" (1 PISTON
TYPE), or BR-35, "BRAKE CALIPER ASSEMBLY (1 PISTON TYPE) : Exploded View" (2
PISTON TYPE).
CAUTION:
Do not depress brake pedal while brake caliper is removed.
- Put alignment marks (A) on disc brake rotor and wheel hub and
bearing. Remove disc brake rotor.
CAUTION:
Do not drop the disc brake rotor.

- Remove cotter pin.
- Remove the nut retainer.
- Loosen the wheel hub lock nut from the drive shaft using power
tool.
- Using a piece of wood and a suitable tool, tap on the lock nut to
disengage the drive shaft from the wheel hub and bearing.
CAUTION:
- Do not place the drive shaft joint at an extreme angle. Be
careful not to over extend the slide joint.
- Do not allow the drive shaft to hang without support.
NOTE:
Use a suitable puller if drive shaft cannot be separated from the
wheel hub and bearing.

- Remove the wheel hub lock nut.
- Remove the engine side cover. Refer to EXT-28, "FENDER PROTECTOR :
Exploded View".
- Remove the lower nut and bolt from the steering knuckle. Refer to
FAX-9, "Exploded View".
- Separate transverse link from steering knuckle. Refer to FSU-12,
"Exploded View".
- Separate drive shaft from wheel hub and bearing, Reposition the
drive shaft aside with wire. Refer to FAX-
18, "Exploded View (LH)" (LH) or FAX-20, "Exploded View (RH)" (RH).
- Remove the wheel hub and bearing bolts using power tool.
- Remove the splash guard and the wheel hub and bearing from the steering
knuckle.
INSPECTION AFTER REMOVAL
Check the following items, and replace the part if necessary.
- Check components for deformation, cracks, and other damage.
- Check boots of transverse link ball joint for cracks, axial end play,
and swing torque. Refer to FAX-65, "Drive
Shaft".
INSTALLATION
Installation is in the reverse order of the removal.
CAUTION:
- Do not reuse the wheel stud.
- Do not reuse the cotter pin.
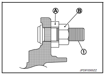
- Place a washer (A) as shown to install the wheel studs (1) by
using
the tightening force of the nut (B).
CAUTION:
Check that there is no clearance between the wheel stud and
the wheel hub and bearing.


Amount of lubricant : FAX-65, "Drive Shaft"
NOTE:
Always check with the Parts Department for the latest parts information.
- Hold the wheel hub and bearing using a suitable tool. Tighten the
wheel hub lock nut.
CAUTION:
- Since the drive shaft is assembled by press-fitting, use a
torque wrench to tighten the wheel hub
lock nut. Do not use a power tool.
- Too much torque causes axle noise. Too little torque causes
wheel bearing looseness. Tighten the
wheel hub lock nut to the specification.
- When installing a the cotter pin (1) and the nut retainer (2),
securely bend the cotter pin to prevent rattles.

- Align the matching marks (A) on the disc brake rotor and on the
wheel hub and bearing.

- Complete the inspection. Refer to FAX-42, "Inspection".
INSPECTION AFTER INSTALLATION
- Check the wheel alignment. Refer to FSU-7, "Inspection".
- Adjust neutral position of steering angle sensor. Refer to BRC-70,
"Work Procedure".
Inspection
INSPECTION AFTER REMOVAL
Check components for deformation, cracks, and other damage. Replace if there
are.
Ball Joint Inspection
Check boots of transverse link and steering outer socket ball joint for
breakage, axial play, and torque. Refer to
FSU-26, "Ball Joint" and ST-15, "Inspection".
INSPECTION AFTER INSTALLATION
- Check the wheel alignment. Refer to FSU-7, "Inspection".
- Adjust neutral position of steering angle sensor. Refer to BRC-70,
"Work Procedure".
FRONT DRIVE SHAFT BOOT
Exploded View
LH

- Shaft
- Circular clip
- Dust shield
- Housing
- Snap ring
- Spider assembly
- Stopper ring
- Boot
- Boot band
- Joint sub-assembly
: Wheel side
RH

- Shaft
- Circular clip
- Dust shield
- Housing
- Snap ring
- Spider assembly
- Stopper ring
- Boot
- Boot band
- Joint sub-assembly
: Wheel side
WHEEL SIDE
WHEEL SIDE : Removal and Installation
REMOVAL
- Remove front wheel and tire using power tool. Refer to WT-57,
"Adjustment".
- Remove the bolt (1) and separate the front wheel sensor from
the steering knuckle. Refer to BRC-132, "FRONT WHEEL SENSOR
: Removal and Installation".
CAUTION:
- Failure to separate the front wheel sensor from the steering
knuckle may result in damage to the front wheel sensor.
- Pull out the front wheel sensor, being careful to turn it as
little as possible. Do not pull on front wheel sensor harness

- Remove brake caliper torque member bolts, leaving brake hose attached,
reposition the caliper aside with
wire. Refer to BR-35, "BRAKE CALIPER ASSEMBLY (1 PISTON TYPE) : Exploded
View" (1 PISTON
TYPE), or BR-35, "BRAKE CALIPER ASSEMBLY (1 PISTON TYPE) : Exploded View" (2
PISTON TYPE).
CAUTION:
Do not depress brake pedal while brake caliper is removed.
- Put alignment marks (A) on disc brake rotor and wheel hub and
bearing. Remove disc brake rotor.
CAUTION:
Do not drop the disc brake rotor.

- Remove cotter pin.
- Remove the nut retainer.
- Loosen the wheel hub lock nut from the drive shaft using power
tool.
- Using a piece of wood and a suitable tool, tap on the lock nut to
disengage the drive shaft from the wheel hub and bearing.
CAUTION:
- Do not place the drive shaft joint at an extreme angle. Be
careful not to over extend the slide joint.
- Do not allow the drive shaft to hang without support.
NOTE:
Use a suitable puller if drive shaft cannot be separated from the
wheel hub and bearing.

- Remove the wheel hub lock nut.
- Remove the engine side cover. Refer to EXT-28, "FENDER PROTECTOR :
Exploded View".
- Remove the lower nut and bolt from the steering knuckle (shown in
explode). Separate the transverse link
from the steering knuckle. Refer to FAX-9, "Exploded View".
- Separate drive shaft from wheel hub and bearing, Reposition the
drive shaft aside with wire. Refer to FAX-
40, "Exploded View".
- Remove boot bands.
- Remove boot from joint sub-assembly.
- Screw a suitable tool (A) 30 mm (1.18 in) or more into threaded
part of joint sub-assembly. Support drive shaft with one hand
and pull out joint sub-assembly with a sliding hammer or suitable
tool from housing assembly.
CAUTION:
- Align sliding hammer or suitable tool and drive shaft and
remove joint sub-assembly by pulling directly.
- If joint sub-assembly cannot be removed after five or
more unsuccessful attempts, replace the entire drive shaft
assembly.

- Remove circular clip (1) from shaft.

- Remove outer boot from shaft.
- Inspect the components. Refer to FAX-48, "Inspection".
INSTALLATION
- Clean the old grease on joint sub-assembly with paper shop cloth.
- Fill serration slot joint sub-assembly with NISSAN genuine grease
or equivalent.
CAUTION:
After applying grease, use a paper shop cloth to wipe off old grease that
has oozed out.
NOTE:
Always check with the Parts Department for the latest parts information.
- Install boot and boot bands to shaft.
CAUTION:
- Wrap serration on shaft with tape to protect the boot from
damage.
- Do not reuse boot and boot band.
- Remove the tape wrapped around the serration on shaft.
- Position the circular clip (1) on groove at the shaft edge.
CAUTION:
Do not reuse circular clip.
NOTE:
A drive joint inserter is recommended when installing the circular
clip.

- Align of the shaft and joint sub-assembly. Assemble the shaft with joint
sub-assembly while holding the circular
clip.
- Install joint sub-assembly (1) to housing assembly using suitable
tool.
CAUTION:
Confirm that joint sub-assembly is correctly engaged while
rotating drive housing assembly.

- Apply the specified amount of grease into the large diameter side
opening of the boot.
Grease amount : Refer to FAX-65, "Drive Shaft".
- Install the boot securely into grooves (indicated by “*” marks)
shown in the figure.
CAUTION:
If grease adheres to the boot mounting surface (indicated
by “*” mark) on the shaft or the joint sub-assembly, boot
may come off. Remove all grease from the boot mounting
surface.
- Make sure boot installation length (L) is the specified length.
Insert a suitable tool into the large end of boot. Bleed air from
boot to prevent boot deformation.

Boot installation
length (L)
: Refer to FAX-65, "Drive Shaft".
CAUTION:
- Boot may break if boot installation length is not within
standard value.
- Be careful that suitable tool does not contact inside surface
of boot.
- Install new large and small boot bands securely using Tool.

Tool number : KV40107300 ( — )
CAUTION:
Do not reuse boot band.
- Secure boot band so that dimension (M) meets the specification
as shown

Dimension (M) : Refer to FAX-65, "Drive Shaft".
- Attempt to rotate the boot to check whether or not the boot bands are
securing the boot. If the boot is not
secure, remove the boot bands, reposition the boot, and install new boot
bands.
- Clean the mating surfaces of the joint sub-assembly and the
wheel hub and bearing. Apply Molykote M77 lubricant to the surface
(A) of the joint sub-assembly.
CAUTION:
Apply lubricant to cover the entire flat mating surface of the
joint sub-assembly.

Amount of lubricant FAX-65, "Drive Shaft"
NOTE:
Always check with the Parts Department for the latest parts
information.
- Clean the mating surface of the drive shaft (A) and the wheel hub
and bearing.
- Insert drive shaft to wheel hub and bearing.
- Temporarily install the wheel hub lock nut.
CAUTION:
Do not reuse the wheel hub lock nut.
- Install the transverse link to the steering knuckle. Tighten the
steering knuckle nut and bolt to the specification.
Refer to FSU-12, "Exploded View".
- Align the marks on the disc brake rotor and on the wheel hub and
bearing. Install the disc brake rotor.
- Install caliper to steering knuckle. Refer to FSU-17, "Exploded
View".
- Install the front wheel sensor to the steering knuckle. Refer to
BRC-132, "FRONT WHEEL SENSOR :
Exploded View".
CAUTION:
- Before installling, make sure there is no foreign material such
as iron fragments adhered to the
pick-up part of the front wheel sensor.
- When installing, make sure there is no foreign material such as iron
fragments on and in the hole
in the steering knuckle for the front wheel sensor. Make sure no foreign
material has been
caught in the sensor rotor. Remove any foreign material and then install the
front wheel sensor.
- Hold the wheel hub and bearing. tighten the wheel hub lock nut.
Refer to FAX-40, "Exploded View".
CAUTION:
- Since the drive shaft is assembled by press-fitting, use a
torque wrench to tighten the wheel hub
lock nut. Do not use a power tool.
- Too much torque causes axle noise. too little torque causes
wheel bearing loosness. Tighten the
wheel hub lock nut to the specification.
- Install the nut retainer.
- Install a new cotter pin. Refer to FAX-40, "Exploded View".
CAUTION:
- Do not reuse cotter pin.
- Bend cotter pin securely to prevent any looseness.
- Install the front wheel and tire. Refer to WT-60, "Removal and
Installation".
TRANSAXLE SIDE
TRANSAXLE SIDE : Removal and Installation
NOTE:
Remove boot after removing drive shaft.
- For drive shaft removal and installation, refer to FAX-18,
"Removal and Installation (LH)".
- For drive shaft disassembly and assembly, refer to FAX-57,
"Disassembly and Assembly (LH)" (LH) or FAX-
60, "Disassembly and Assembly (RH)" (RH).
Inspection
INSPECTION AFTER INSTALLATION
Check the following items, and replace the part if necessary.
- Move joint up/down, left/right, and in the axial directions. Check
for
motion that is not smooth and for significant looseness.
- Check boot for cracks, damage, and leakage of grease.
- Check the wheel sensor harness to be sure the connectors are
fully seated.
- Check the wheel alignment. Refer to FSU-7, "Inspection".

FRONT DRIVE SHAFT
Exploded View (LH)

- Drive shaft
- Nut retainer
- Cotter pin
Removal and Installation (LH)
REMOVAL
- Remove front wheel and tire using power tool. Refer to WT-57,
"Adjustment".
- Remove the bolt (1) and separate the front wheel sensor from
the steering knuckle. Refer to BRC-132, "FRONT WHEEL SENSOR
: Exploded View".
CAUTION:
- Failure to separate the front wheel sensor from the steering
knuckle may result in damage to the front wheel sensor.
- Pull out the front wheel sensor, being careful to turn it as
little as possible. Do not pull on wheel sensor harness.

- Remove brake caliper torque member bolts, leaving brake hose attached,
reposition the caliper aside with
wire. Refer to BR-35, "BRAKE CALIPER ASSEMBLY (1 PISTON TYPE) : Exploded
View" (1 PISTON
TYPE), or BR-35, "BRAKE CALIPER ASSEMBLY (1 PISTON TYPE) : Exploded View" (2
PISTON TYPE).
CAUTION:
Do not depress brake pedal while brake caliper is removed.
- Put alignment marks (A) on disc brake rotor and wheel hub and
bearing. Remove disc brake rotor.
CAUTION:
Do not drop the disc brake rotor.

- Remove cotter pin.
- Remove the nut retainer.
- Loosen the wheel hub lock nut from the drive shaft using power tool.
- Using a piece of wood and a suitable tool, tap on the lock nut to
disengage the drive shaft from the wheel hub and bearing.
CAUTION:
- Do not place the drive shaft joint at an extreme angle. Be
careful not to over extend the slide joint.
- Do not allow the drive shaft to hang without support.
NOTE:
Use a suitable puller if drive shaft cannot be separated from the
wheel hub and bearing.

- Remove the wheel hub lock nut.
- Remove the engine side cover. Refer to EXT-28, "FENDER PROTECTOR :
Exploded View".
- Remove the lower nut and bolt from the steering knuckle. Refer to
FAX-50, "Exploded View (LH)".
- Separate transverse link from steering knuckle. Refer to FSU-12,
"Exploded View".
- Separate drive shaft from wheel hub and bearing, Reposition the
drive shaft aside with wire. Refer to FAX-
40, "Exploded View".
- Remove drive shaft from transaxle assembly.
- Use the Tool (A) and a suitable tool (B) while inserting tip of
Tool (A) between housing and transaxle assembly.
CAUTION:
- Do not place drive shaft joint at an extreme angle when
removing drive shaft. Also be careful not to overextend
slide joint.
- Confirm that the circular clip is attached to the drive
shaft.

Tool (A) : KV40107500 ( –– )
INSTALLATION
Installation is in the reverse order of removal.
- Install a new differential side oil seal. Refer to TM-210,
"Removal and Installation".
CAUTION:
Do not reuse the differential side oil seal.
- Place Tool (A) onto transaxle assembly to prevent damage to the
differential side oil seal while inserting drive shaft. Slide drive shaft
sliding joint and tap with a suitable tool to install securely.
CAUTION:
Check that circular clip is completely engaged.

Tool (A) : KV38107900 ( –– )
- Clean the matching surface of wheel hub lock nut and wheel hub and
bearing.
CAUTION:
Do not apply lubricating oil to these matching surface.
CAUTION:
Apply paste to cover entire flat surface of joint sub-assembly
of drive shaft.

Amount of lubricant : 1.0 – 3.0 g (0.04 – 0.10 oz)
CAUTION:
CAUTION:
Do not reuse cotter pin.
- Perform the final tightening of each of parts under unladen
conditions,
which were removed when removing wheel hub and bearing
and steering knuckle.

Exploded View (RH)

- Cotter pin
- Nut retainer
- Drive shaft
Removal and Installation (RH)
REMOVAL
- Remove front wheel and tire using power tool. Refer to WT-57,
"Adjustment".
- Remove wheel sensor bolt (A) and position wheel sensor aside.
Refer to BRC-132, "FRONT WHEEL SENSOR : Removal and
Installation".
CAUTION:
Do not pull on wheel sensor harness.

- Remove brake caliper torque member bolts, leaving brake hose attached,
reposition the caliper aside with
wire. Refer to BR-35, "BRAKE CALIPER ASSEMBLY (1 PISTON TYPE) : Exploded
View" (1 PISTON
TYPE), or BR-35, "BRAKE CALIPER ASSEMBLY (1 PISTON TYPE) : Exploded View" (2
PISTON TYPE).
CAUTION:
Do not depress brake pedal while brake caliper is removed.
- Put alignment marks (A) on disc brake rotor and wheel hub and
bearing. Remove disc brake rotor.
CAUTION:
Do not drop the disc brake rotor.

- Remove cotter pin.
- Remove the nut retainer.
- Loosen the wheel hub lock nut from the drive shaft using power tool.
- Using a piece of wood and a hammer, tap on the lock nut to disengage
the drive shaft from the wheel hub and bearing.
CAUTION:
- Do not place the drive shaft joint at an extreme angle. Be
careful not to over extend the slide joint.
- Do not allow the drive shaft to hang without support.
NOTE:
Use a suitable puller if drive shaft cannot be separated from the
wheel hub and bearing.

- Remove the wheel hub lock nut.
- Remove the engine side cover. Refer to EXT-28, "FENDER PROTECTOR :
Exploded View".
- Separate transverse link from steering knuckle. Refer to FSU-12,
"Exploded View".
- Separate drive shaft from wheel hub and bearing and reposition drive
shaft aside with wire.
- Remove retainer mounting bolts and retainer.
- If necessary, remove the support bearing bracket mounting bolts and the
support bearing bracket.
- Remove drive shaft from transaxle assembly.
- Use the Tool (A) and a suitable tool (B) while inserting tip of
Tool (A) between housing and transaxle
assembly.
CAUTION:
- Do not place drive shaft joint at an extreme angle when
removing drive shaft. Also be careful
not to overextend slide joint.
Tool : KV40107500 ( –– )
INSTALLATION
- Install a new differential side oil seal. Refer to TM-210,
"Removal and Installation".
CAUTION:
Do not reuse the differential side oil seal.
- Place Tool (A) onto transaxle assembly to prevent damage to
the differential side oil seal while inserting drive shaft. Slide drive
shaft sliding joint and tap with a suitable tool to install securely.
CAUTION:
Check that circular clip is completely engaged.

Tool : KV38107900 ( –– )
Support bearing bracket (AWD models)
- Install front drive shaft and bearing retainer with notch (A) facing
upward.

: Front
- Tighten bolts in the numerical order as shown.
- Refer to the following for the installation positions of bolts.

: Front
M10 bolts : No. 1, 2, 3, 4 48.0 N·m (4.9 kg-m,
35 ft-lb)
M12 bolt : No. 5 97.1 N·m (9.9 kg-m,
72 ft-lb)
M8 bolts : No. 6, 7 25.0 N·m (2.6 kg-m,
18 ft-lb)
- Clean the matching surface of wheel hub lock nut and wheel hub and
bearing.
CAUTION:
Do not apply lubricating oil to these matching surface.
- Clean the mating surfaces of the joint sub-assembly and the
wheel hub and bearing. Apply molykote m77 lubricant to the surface
(a) of the joint sub-assembly.
Caution:
apply lubricant to cover the entire flat mating surface of the
joint sub-assembly.

Amount of lubricant FAX-65, "Drive Shaft"
NOTE:
Always check with the Parts Department for the latest parts
information.
- Use the following torque range for tightening the wheel hub lock
nut.
CAUTION:
- Since the drive shaft is assembled by press-fitting, use the
tightening torque range for the wheel
hub lock nut.
- Be sure to use torque wrench to tighten the wheel hub lock nut.
Do not use a power tool.
- Do not reuse wheel hub lock nut.
- Too much torque causes axle noise. Too little torque, causes
wheel bearing looseness. Tighten
the wheel hub lock nut to the specification.
- Align the matching marks that have been made during removal when
reusing the disc brake rotor.
- When installing a cotter pin (1) and adjusting cap (2), securely
bend the cotter pin to prevent rattles.
CAUTION:
Do not reuse cotter pin.

- Perform the final tightening of each of parts under unladen conditions,
which were removed when removing
wheel hub and bearing and steering knuckle.
- Installation of the remaining components is in the reverse order
of removal.
Inspection
INSPECTION AFTER REMOVAL
- Move joint up/down, left/right, and in the axial directions. Check
for motion that is not smooth and for significant
looseness.
- Check boot for cracks, damage, and leakage of grease.
- ssemble drive shaft and exchange malfunctioning part if there
is a non-standard condition.

INSPECTION AFTER DISASSEMBLY
Shaft
Check shaft for runout, cracks, or other damage. Replace if there are.
Dynamic Damper
Check damper for cracks or wear. Replace if necessary.
Joint Sub-Assembly (Wheel Side)
Check the following:
- Joint sub-assembly for rough rotation and excessive axial
looseness
- The inside of the joint sub-assembly for entry of foreign material
- Joint sub-assembly for compression scars, cracks, and fractures
inside of joint sub-assembly
Replace joint sub-assembly if there are any non-standard conditions of
components.
Housing and Spider assembly (Transaxle Side)
Replace housing and spider assembly if there is scratching or wear of housing
roller contact surface or spider
roller contact surface.
NOTE:
Housing and spider assembly are used in a set.
Support Bearing (Right Side)
Make sure wheel bearing rolls freely and is free from noise, cracks, pitting
or wear. Replace support bearing if
there are any non-standard conditions.
Support Bearing Bracket (Right Side)
Check for bending, cracks, or damage. Replace support bearing bracket if
there are any non-standard conditions.
FRONT WHEEL HUB AND KNUCKLE
Inspection
Move the wheel hub and bearing in an axial direction by hand to verify
that looseness of wheel hub and
bearing exists. If any looseness exists, replace ...
FRONT DRIVE SHAFT
Exploded View (LH)
Shaft
Circular clip
Dust shield
Housing
Snap ring
Spider assembly
Stopper ring
Boot
Boot band
Joint sub-assembly
...
Other materials:
Motion-activated liftgate
Basic information
The Nissan Rogue liftgate can be opened using a quick forward kicking motion beneath the center area of the rear bumper.
The kick motion sensor a is located behind the bumper. When your foot moves under and away from the detection area b while carrying the Intelligent Key, ...
Precaution
Precaution for Supplemental Restraint System (SRS) "AIR BAG" and "SEAT
BELT
PRE-TENSIONER"
The Supplemental Restraint System such as “AIR BAG” and “SEAT BELT PRE-TENSIONER”,
used along
with a front seat belt, helps to reduce the risk or severity of injury to the
...
All-wheel drive (AWD) lock switch (if so equipped)
All-wheel drive (AWD) lock switch (if so equipped)
The all-wheel drive (AWD) lock switch is locaton the instrument panel. The
AWD LOCK indicator
light will illuminate when the switch is turned
on. For additional information, refer to
“Warning/Indicator lights and audible reminders”
in ...
© 2014-2025 Copyright t32.nirogue.com