Nissan Rogue Service Manual: Unit disassembly and assembly
FRONT DRIVE SHAFT
Exploded View (LH)

- Shaft
- Circular clip
- Dust shield
- Housing
- Snap ring
- Spider assembly
- Stopper ring
- Boot
- Boot band
- Joint sub-assembly
Wheel side
Disassembly and Assembly (LH)
DISASSEMBLY
Transaxle Assembly Side
- Fix shaft with a vise.
CAUTION:
Protect shaft using aluminum or copper plates when fixing with a vise.
- Remove boot bands, and then remove boot from housing.
- Remove stopper ring.
- Put matching marks on housing and shaft, and then pull out housing
from shaft.
CAUTION:
Use paint or an equivalent for matching marks. Do not scratch the surfaces.
- Put matching marks (A) on the spider assembly and shaft.
CAUTION:
Use paint or an equivalent for matching marks. Do not
scratch the surfaces.

- Remove snap ring (1), and then remove spider assembly from
shaft.
- Remove boot from shaft.
- Remove circular clip from housing (left side).
- Remove dust shield from housing.
- Clean old grease on housing with paper waste.

Wheel Side
- Fix shaft with a vise.
CAUTION:
Protect shaft using aluminum or copper plates when fixing with a vise.
- Remove boot bands, and then remove boot from joint sub-assembly.
- Screw the drive shaft puller (A) 30 mm (1.18 in) or more into the
thread of joint sub-assembly, and pull joint sub-assembly with a
sliding hammer (B) from shaft.
CAUTION:
- If joint sub-assembly cannot be removed after five or
more unsuccessful attempts, replace shaft and joint sub
assembly as a set.
- Align sliding hammer and drive shaft and remove them by
pulling forcibly
- Remove circular clip from shaft.
- Remove boot from shaft.
- Clean old grease on joint sub-assembly with paper waste while
rotating ball cage.

ASSEMBLY
Transaxle Assembly Side
- Install new boot and boot bands to shaft.
CAUTION:
- Wrap serration on shaft with tape (A) to protect from damage
- Do not reuse boot and boot band.

- Remove the tape wrapped around the serration on shaft.
- To install the spider assembly (1), align it with the matching
marks (A) on the shaft (2) put during the removal, and direct the
serration mounting surface (B) to the shaft.

- Secure spider assembly onto shaft with snap ring (1).
CAUTION:
Do not reuse snap ring.
- Apply the appropriate amount of grease to spider assembly and
sliding surface.
- Assemble the housing onto spider assembly, and apply the
specified amount of grease.

Grease amount : Refer to FAX-65, "Drive Shaft".
- Align matching marks put during the removal of housing.
- Install stopper ring.
CAUTION:
Do not reuse stopper ring.
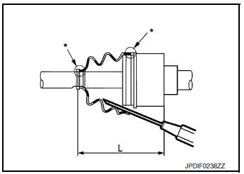
- Install boot securely into grooves (indicated by “*” marks)
shown.
CAUTION:
If grease adheres to the boot mounting surface (indicated
“*” mark) on shaft or housing, boot may be removed.
Remove all grease from the boot mounting surface.
- To prevent the deformation of the boot, adjust the boot
installation
length (L) to the value shown below by inserting the suitable
tool into the inside of boot from the large diameter side of boot
and discharging inside air.

Boots installed
length (L)
: Refer to FAX-65, "Drive Shaft".
CAUTION:
- If the boot installation length is outside the standard, it may
cause breakage of boot.
- Be careful not to touch the inside of the boot with the tip of
tool.
- Install new boot bands securely as shown.
CAUTION:
Do not reuse boot band.
- Secure housing and shaft, and then make sure that they are in
the correct position when rotating boot. Reinstall them with new
boot bands when the mounting positions become incorrect.
- Install dust shield to housing (left side).
CAUTION:
Do not reuse dust shield.
- Install circular clip to housing (left side).
CAUTION:
Do not reuse circular clip.

Wheel Side
For further details, refer to the installation procedure of “FAX-44, "WHEEL
SIDE : Removal and Installation"”
for the drive shaft boot.
Exploded View (RH)

- Joint sub-assembly
- Circular clip
- Boot band
- Boot
- Shaft
- Damper band
- Dynamic damper
- Stopper ring
- Spider assembly
- Snap ring
- Housing
- Dust shield
- Support bearing
- Retainer
- Support bearing bracket
: Wheel side
Disassembly and Assembly (RH)
DISASSEMBLY
Transaxle Assembly Side
- Fix shaft with a vise.
CAUTION:
Protect shaft using aluminum or copper plates when fixing with a vise.
- Remove boot bands, and then remove boot from housing.
- Remove stopper ring.
- Put matching marks on housing and shaft, and then pull out housing from
shaft.
CAUTION:
Use paint or an equivalent for matching marks. Do not scratch the surfaces.
- Put matching marks (A) on the spider assembly and shaft.
CAUTION:
Use paint or an equivalent for matching marks. Do not
scratch the surfaces.

- Remove snap ring (1), and then remove spider assembly from
shaft.
- Remove boot from shaft.
- Remove circular clip from housing (left side).
- Remove dust shield from housing.
- Clean old grease on housing with paper waste.

Support Bearing
- Remove dust shield from housing.

- Remove snap ring (1).

- Press out support bearing from housing.
- Remove dust shield.

Wheel Side
- Fix shaft with a vise.
CAUTION:
Protect shaft using aluminum or copper plates when fixing with a vise.
- Remove boot bands, and then remove boot from joint sub-assembly.
- Screw the drive shaft puller (A) 30 mm (1.18 in) or more into the
thread of joint sub-assembly, and pull joint sub-assembly with a
sliding hammer (B) from shaft.
CAUTION:
- If joint sub-assembly cannot be removed after five or
more unsuccessful attempts, replace shaft and joint sub
assembly as a set.
- Align sliding hammer and drive shaft and remove them by
pulling forcibly.
- Remove circular clip from shaft.
- Remove boot from shaft.
- Clean old grease on joint sub-assembly with paper waste while
rotating ball cage.

ASSEMBLY
Transaxle Assembly Side
- Wrap serration on shaft with tape (A) to protect boot from damage.
Install new boot and boot bands to shaft.
CAUTION:
Do not reuse boot and boot band.
- Remove the tape wrapped around the serration on shaft.

- To install the spider assembly (1), align it with the matching
marks (A) on the shaft (2) put during the removal, and direct the
serration mounting surface (B) to the shaft.

- Secure spider assembly onto shaft with snap ring (1).
CAUTION:
Do not reuse snap ring.
- Apply the appropriate amount of grease to spider assembly and
sliding surface.
- Assemble the housing onto spider assembly, and apply the
specified amount of grease.

Grease amount : Refer to FAX-65, "Drive Shaft".
- Align matching marks put during the removal of housing.
- Install stopper ring.
CAUTION:
Do not reuse stopper ring.
- Install boot securely into grooves (indicated by “*” marks) shown
in the figure.
CAUTION:
If grease adheres to the boot mounting surface (indicated
“*” mark) on shaft or housing, boot may be removed.
Remove all grease from the boot mounting surface.
- To prevent the deformation of the boot, adjust the boot installation
length (L) to the value shown below by inserting the suitable
tool into the inside of boot from the large diameter side of boot
and discharging inside air.

Boots installed
length (L)
: Refer to FAX-65, "Drive Shaft".
CAUTION:
- If the boot installation length is outside the standard, it may
cause breakage of boot.
- Be careful not to touch the inside of the boot with the tip of
tool.
- Install new boot bands securely as shown in the figure.
CAUTION:
Do not reuse boot band.
- Secure housing and shaft, and then make sure that they are in
the correct position when rotating boot. Reinstall them with new
boot bands when the mounting positions become incorrect.
- Install dust shield to housing (left side).
CAUTION:
Do not reuse dust shield.
- Install circular clip to housing (left side).
CAUTION:
Do not reuse circular clip.

Support Bearing
- Install dust shield on housing.
CAUTION:
Do not reuse dust shield.
- Press support bearing (1) onto housing to using the suitable tool
(A).
- Install snap ring.
CAUTION:
Do not reuse snap ring.

- Install dust shields.
CAUTION:
Do not reuse dust shields.

Wheel Side
For further details, refer to the installation procedure of “FAX-44, "WHEEL
SIDE : Removal and Installation"”
for the drive shaft boot.
FRONT WHEEL HUB
Exploded View
Wheel hub and bearing
Cotter pin
Nut retainer
Wheel hub lock nut
Hub bolt
Splash guard
Steering knuckle
Removal and In ...
Wheel Bearing
Drive Shaft
Drive Shaft Specifications
*Always check with the Parts Department for the latest parts information.
Dynamic Damper Specifications
Boot Band Specification
...
Other materials:
The meter control switch is inoperative
Description
The meter control switches are inoperative when pressed.
Diagnosis Procedure
1.CHECK METER CONTROL SWITCH SIGNAL
Check the meter control switch signal. Refer to MWI-67, "Diagnosis
Procedure".
Is the inspection result normal?
YES >> GO TO 2.
NO >> Repair ...
C1734 BCM
DTC Logic
NOTE:
The Signal Tech II Tool [- (J-50190)] can be used to perform the following
functions. Refer to the Signal Tech II
User Guide for additional information.
Activate and display TPMS sensor IDs
Display tire pressure reported by the TPMS sensor
Read TPMS DTC ...
Power supply and ground circuit
WITH INTELLIGENT KEY SYSTEM
WITH INTELLIGENT KEY SYSTEM : Diagnosis Procedure
Regarding Wiring Diagram information, refer to BCS-50, "Wiring Diagram".
1. CHECK FUSE
Check that the following fuse is not blown.
Terminal No.
Signal name
Fuse No.
161
BCM power sup ...
© 2014-2026 Copyright t32.nirogue.com