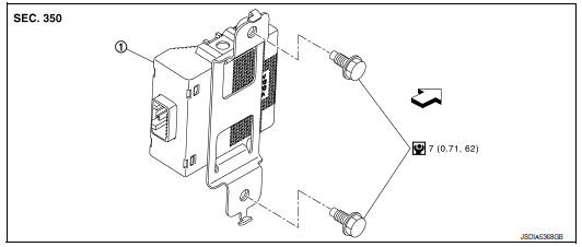
AWD CONTROL UNIT
Exploded View

1 AWD control unit
: Vehicle front
: N·m (kg-m, in-lb)
Removal and Installation
REMOVAL
).NOTE: AWD control unit is located on the back side of body panel.

: Front
INSTALLATION
Installation is in the reverse order of removal.
CAUTION:
AWD LOCK SWITCH
Exploded View

Front
Pawl
Removal and Installation
REMOVAL

: Pawls
INSTALLATION
Install in the reverse order of removal.
TRANSFER COVER OIL SEAL
Removal and Installation
NOTE:
Periodic maintenance
Unit removal and installationBooster seats
Precautions on booster seats
WARNINGIf a booster seat and seat belt are not used
properly, the risk of a child being injured in
a sudden stop or collision greatly
increases:
Make sure the shoulder portion of
the belt is away from the child’s face
and neck and ...
P0420 three way catalyst function
DTC Description
DTC DETECTION LOGIC
The ECM monitors the switching frequency ratio of air fuel ratio (A/F)
sensor 1 and heated oxygen sensor 2.
A three way catalyst (manifold) with high oxygen storage capacity
will indicate a low switching frequency of heated oxygen sensor 2.
As oxygen sto ...
Precaution
Precaution for Supplemental Restraint System (SRS) "AIR BAG" and "SEAT
BELT
PRE-TENSIONER"
The Supplemental Restraint System such as “AIR BAG” and “SEAT BELT PRE-TENSIONER”,
used along
with a front seat belt, helps to reduce the risk or severity of injury to the
...