FRONT COIL SPRING AND STRUT
Exploded View

Disassembly and Assembly
DISASSEMBLY
CAUTION: Do not damage the piston rod when removing components from the front coil spring and strut.
CAUTION: When installing Tool (A), wrap a shop cloth around the front coil spring and strut to protect the parts from damage.

Tool number : ST35652000 ( – )
WARNING: Do not remove the piston rod lock nut completely. If the piston rod lock nut is removed completely, the coil spring can jump out and may cause serious damage or injury.
WARNING: Make sure that the pawls of the suitable tool are firmly hooked on the coil spring. The suitable tool must be tightened alternately so as to not tilt the coil spring.

CAUTION: Release the suitable tool while making sure the position of the suitable tool on the coil spring does not move.
ASSEMBLY
CAUTION: Do not damage the piston rod when removing components from the front coil spring and strut.
WARNING: Make sure that the pawls of the suitable tool are firmly hooked on the coil spring. The suitable tool must be tightened alternately so as to not tilt the coil spring.

Maximum Gap (A) : 5 mm (0.2 in)
CAUTION:
CAUTION: Do not apply oil, such as grease, when installing the strut mount bearing.
CAUTION: Do not reuse piston rod lock nut.
CAUTION: Release the suitable tool while making sure the position of the suitable tool on the coil spring does not move.


Inspection
INSPECTION AFTER DISASSEMBLY
Strut
Insulator and Rubber Parts
Check strut mount insulator for cracks, rubber parts for wear and replace if necessary.
Coil Spring
Check for cracks, wear, and damage and replace if necessary.
Disposal
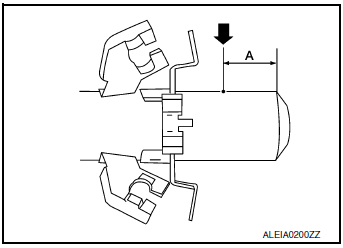
) from top
as shown in the figure to release gas gradually.CAUTION:
NOTE:
).

A: 20 – 30 mm (0.79 – 1.18 in)
CAUTION: Dispose of drained oil according to the law and local regulations.
Unit removal and installation
Service data and specifications (SDS)P0171 fuel injection system function
DTC Description
DTC DETECTION LOGIC
With the Air/Fuel Mixture Ratio Self-Learning Control, the actual mixture
ratio can be brought closely to the
theoretical mixture ratio based on the mixture ratio feedback signal from the
A/F sensors 1. The ECM calculates
the necessary compensation to corr ...
Moving Object Detection (MOD) (if so equipped)
The MOD system can inform the driver of moving
objects behind the vehicle when backing out of
garages, maneuvering in parking lots and in other
such instances.
The MOD system detects moving objects by
using image processing technology on the image
shown in the display.
The MOD system oper ...
Combination meter
Reference Value
VALUES ON THE DIAGNOSIS TOOL
*: DDS (hill descent control)
NOTE:
Some items are not available according to vehicle specification.
TERMINAL LAYOUT
PHYSICAL VALUES
Fail-safe
The combination meter activates the fail-safe control if the CAN
communica ...