Nissan Rogue Service Manual: Third row seat
Exploded View

- Seatback board (RH)
- Seatback trim (RH)
- Seatback pad (RH)
- Seat cushion trim (RH)
- Seat cushion pad (RH)
- Seat cushion silencer (LH/RH)
- Seat hinge finisher (RH)
- Gas stay
- Bolt cover (RH)
- Seat belt buckle (RH)
- Seat belt buckle (LH)
- Bolt cover (LH)
- Stopper pin
- Seat frame support
- Seat hinge finisher (LH)
- Seat striker (LH/RH)
- Seat striker finisher (LH/RH)
- Seatback pull strap (LH/RH)
- Seatback frame (LH)
- Headrest (LH/RH)
- Third row seat cross member
- Third row seat cross member finisher
(LH)
- Third row seat cross member
finisher (center)
- Third row seat cross member finisher
(RH)
- Third row luggage floor
- Seatback board (LH)
- Seatback trim (LH)
- Seatback pad (LH)
- Seat cushion trim (LH)
- Seat cushion pad (LH)
- Seat frame finisher (center)
- Seat cushion frame (LH)
- Seat cushion frame (RH))
- Headrest holder (locked)
- Headrest holder (free)
- Seatback frame (RH)
Clip
Pawl
Seatback
DISASSEMBLY
NOTE:
LH shown : RH similar
- Remove third row seat. Refer to SE-43, "Removal and Installation".
- Remove headrest.
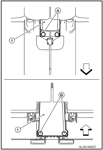
- Remove screws (A) and third row seat cross member finishers
(1, 2, 3).

- Release seatback pull strap stop using a suitable tool.
- Release third row luggage board outer clips (A) and inner clips
(B) using a suitable tool.

- Release third row luggage board retainer strap clips (A) (LH/RH)
using a suitable tool and remove third row luggage board.

- Release clips using a suitable tool then gently pull seatback
board (1) forward and out and remove as shown (
).
CAUTION:
After removing the seatback board, check the orientation of
clips. Improper installation of clips could result in damage
to the seatback board.
: Clip

- Reinstall clips in proper locations on the seatback board.
- Remove screws (A) and remove seat hinge finisher (1).

- Release J-hooks from seat frame and remove seatback trim and
seatback pad as an assembly.

- Reach up behind the seatback pad, release the headrest holder
locks as shown and remove the headrest holders.
CAUTION:
Before removing/installing headrest holder, check its orientation
(front/rear and right/left).

- Release hook and loop finisher and remove hog rings, then separate
seatback trim from seatback pad.
NOTE:
Remove all pieces of hog rings and discard them.
: Hog ring

ASSEMBLY
Assembly is in the reverse order of disassembly.
- Install new hog rings on the seatback trim in original positions.
- Use only one hog ring in each designated location.
- Make sure hog rings are correctly fastened around both the
seatback
trim and seatback pad wires.
- Use NISSAN standard hog rings and tools to assemble.
- Make sure hook fastener is pressed into place after seatback trim
is assembled.
- Smooth out all wrinkles during assembly.

Seat Cushion
DISASSEMBLY
NOTE:
- Remove third row seat. Refer to SE-43, "Removal and Installation".
- Remove third row seat cross member. Refer to SE-44, "Third Row Seat
Cross Member".
- Using a suitable tool, release seat cushion trim clips (A) and
remove rear screws (B). Then, release metal clip and remove
the center seat frame finisher (1).
: Metal clip
: Front

- Release J-hooks (A) from seat frame and remove seat cushion
trim and seat cushion pad.

- Remove hog rings and separate the seat cushion trim from the
seat cushion pad.
NOTE:
Remove all pieces of hog rings and discard them.
: Hog ring
: Front

ASSEMBLY
Assembly is in the reverse order of disassembly.
- Install new hog rings on the seat cushion trim in original positions.
- Use only one hog ring in each designated location.
- Make sure hog rings are correctly fastened around both the seat
cushion trim and seat cushion pad wires.
- Use NISSAN standard hog rings and tools to assemble.
- Make sure hook fastener is pressed into place after seat cushion
trim is assembled.
- Smooth out all wrinkles during assembly.

Exploded View
RH SEAT
Headrest
Seatback upper luggage
board
Seatback luggage board
Seatback trim
Seatback pad
Recline release cable
Seat cushion trim
Fold flat strap ...
Other materials:
Corrosion protection
Most common factors contributing to vehicle
corrosion
Most vehicle corrosion is caused by:
the accumulation of moisture-retaining dirt
and debris in body panel sections, cavities,
and other areas
damage to paint and other protective coatings
caused by gravel and stone chip ...
C1708, C1709, C1710, C1711 transmitter (no data)
DTC Logic
NOTE:
The Signal Tech II Tool [- (J-50190)] can be used to perform the following
functions. Refer to the Signal Tech II
User Guide for additional information.
Activate and display TPMS sensor IDs
Display tire pressure reported by the TPMS sensor
Read TPMS DTC ...
Using the system
The NISSAN Voice Recognition system allows
hands-free operation of the Bluetooth® Hands-
Free Phone System.
If the vehicle is in motion, some commands may
not be available so full attention may be given to
vehicle operation.
Initialization
When the ignition switch is placed in the ON
posi ...
© 2014-2026 Copyright t32.nirogue.com