REAR PROPELLER SHAFT
Exploded View

: Vehicle front
: N·m (kg-m, ft-lb)
: Always replace after every
disassembly.
Removal and Installation
REMOVAL
CAUTION: For matching marks, use paint. Do not damage propeller shaft flange yoke and transfer companion flange.


: Front
CAUTION: Tighten nuts temporarily.
CAUTION: If constant velocity joint was bent during propeller shaft assembly removal, installation, or transportation, its boot may be damaged. Wrap boot interference area to metal part with shop cloth or rubber to protect boot from breakage.
INSTALLATION
Installation is in the reverse order of removal.


(1) : Final drive assembly
(2) : Propeller shaft assembly

Inspection
INSPECTION AFTER REMOVAL
Appearance
Check propeller shaft tube surface for dents or cracks. If malfunction is detected, replace propeller shaft assembly.
Propeller Shaft Runout
Check propeller shaft runout at measuring points with a dial indicator.
If runout exceeds specifications, replace propeller shaft assembly.

Propeller shaft runout : Refer to DLN-103, "Propeller Shaft Runout".
”).

: Front side
Dimension
A : 541.5 mm (21.32 in)
B : 488.7 mm (19.24 in)
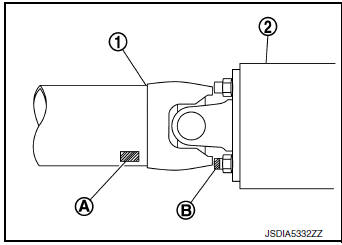
Journal Axial Play
As shown in the figure, while fixing yoke on one side, check axial play of joint. If it is outside the standard, replace propeller shaft assembly.

Journal axial play : Refer to DLN-103, "Journal Axial Play".
CAUTION: Never disassemble joints.
Center Bearing
Check center bearing for noise and damage. If malfunction is detected, replace propeller shaft assembly.
CAUTION: Never disassemble center bearing.
INSPECTION AFTER INSTALLATION
After assembly, perform a driving test to check propeller shaft vibration. If vibration occurred, separate propeller shaft from final drive. Reinstall propeller shaft by changing the phase between electric controlled coupling stud bolt and propeller shaft by the one bolt hole at a time. Then perform driving test and check propeller shaft vibration again at each point.
Periodic maintenance
Service data and specifications (SDS)Diagnosis and repair workflow
Work Flow
OVERALL SEQUENCE
DETAILED FLOW
1. OBTAIN INFORMATION ABOUT SYMPTOM
Interview the customer to obtain as much information as possible about the
conditions and environment under
which the malfunction occurred.
>> GO TO 2.
2. CONFIRM THE SYMPTOM
Check the malfunction on the ...
Engine cooling system
The engine cooling system is filled at the factory
with a pre-diluted mixture of 50% Genuine
NISSAN Long Life Antifreeze/Coolant (blue) and
50% water to provide year-round anti-freeze and
coolant protection. The antifreeze solution contains
rust and corrosion inhibitors. Additional engine
cool ...
Front door finisher
Exploded View
Front door
Front door pull handle bracket
Front door pull handle
Front power window switch (RH)
finisher
Front door inside handle finisher
Front door finisher
Clip
Pawl
REMOVAL
NOTE:
LH shown, RH similar.
Release pawls using a suitable tool (A) from ...