Nissan Rogue Service Manual: System description
COMPONENT PARTS
Component Parts Location

- View under rear of front passenger
seat
- View with spare tire cover removed
- Center of back door
- View with glove box removed
|
No. |
Component |
Function |
| 1 |
Rod antenna |
Refer to AV-232, "Rod Antenna, Antenna Amp., Satellite
Antenna and Antenna Feeder". |
| 2 |
Antenna base (antenna amp. and satellite
antenna) |
| 3 |
Rear door speaker RH |
Refer to AV-229, "Speakers". |
| 4 |
Front door speaker RH |
| 5 |
Front camera |
Refer to AV-231, "Front Camera". |
| 6 |
Front door speaker LH |
Refer to AV-229, "Speakers". |
| 7 |
Side camera |
Refer to AV-231, "Side Cameras". |
| 8 |
Rear door speaker LH |
Refer to AV-229, "Speakers". |
| 9 |
Microphone |
Refer to AV-230, "Microphone". |
| 10 |
GPS antenna |
Refer to AV-233, "GPS Antenna". |
| 11 |
Front tweeter LH |
Refer to AV-229, "Speakers". |
| 12 |
Steering angle sensor |
Refer to AV-232, "Steering Angle Sensor". |
| 13 |
Steering switches |
Refer to AV-230, "Steering Switches". |
| 14 |
USB interface and AUX in jack |
Refer to AV-230, "USB Interface and AUX In Jack". |
| 15 |
AV control unit |
Refer to AV-228, "AV Control Unit". |
| 16 |
Front tweeter RH |
Refer to AV-229, "Speakers". |
| 17 |
Center speaker |
Refer to AV-229, "Speakers". |
| 18 |
BOSE speaker amp. |
Refer to AV-228, "BOSE Speaker Amp.". |
| 19 |
Subwoofer |
Refer to AV-229, "Speakers". |
| 20 |
Rear view camera |
Refer to AV-231, "Rear View Camera". |
| 21 |
Around View®* Monitor control unit |
Refer to AV-231, "Around View Monitor Control Unit". |
*: Around View Monitor is a parking aid/convenience feature. Around View
Monitor cannot completely eliminate
blind spots. Around View Monitor may not detect every object and does not warn
of moving objects. Always
check surroundings before moving vehicle. Around View Monitor is not a
substitute for proper backing procedures.
Always turn to check what is behind you before backing up.
AV Control Unit
Description
- A 7-inch WVGA display, an AM/FM electronic tuner radio, CD drive
and navigation unit are integrated into the AV control unit.
- The 7-inch display is a high resolution monitor that includes
touch
panel functions.
- Music files stored in iPod®*/USB memory can be played using the
separate USB interface.
- Music files stored in an external audio device can be played using
the separate AUX in jack.
- : iPod® is a registered trademark of Apple, Inc. All rights reserved.

BOSE Speaker Amp.
- Installed under the rear of the front passenger seat.
- Receives sound signal from AV control unit, and outputs sound
signal
to each tweeter, speaker and the subwoofer.

Speakers
FRONT TWEETER
- 2.5 cm (1 in) tweeters are installed in the top front corners of
the
instrument panel.
- Sound signals are input from the Bose speaker amp. to output high
range sounds.

CENTER SPEAKER
- 7.6 cm (3 in) speaker is installed in the top center of the
instrument
panel.
- Sound signals are input from the Bose speaker amp. to output mid
range sounds.

FRONT DOOR SPEAKER
- 16.5 cm (6.5 in) speakers are installed in the bottom of the front
doors.
- Sound signals are input from the Bose speaker amp. to output
high, mid and low range sounds.

REAR DOOR SPEAKER
- 12.7 cm (5 in) speakers are installed in the bottom of the rear
doors.
- Sound signals are input from the Bose speaker amp. to output
high, mid and low range sounds.

SUBWOOFER
- Installed on top of the spare tire underneath the spare tire cover.
- Sound signals are input from the Bose speaker amp. to output low
range sounds.

USB Interface and AUX In Jack
- USB Interface and AUX in jack is installed in the console.
- iPod® and USB memory can be connected to the AV control unit
through the USB interface.
- An external audio device can be connected to the AV control unit
through the AUX in jack.

Steering Switches
- Steering switches are installed in the steering wheel.
- Operations for audio and hands-free phone are possible.
- Switches are connected to the combination meter.
- Combination meter is connected to the AV control unit via AV
communication.

Microphone
- The microphone is installed in the map lamp assembly.
- Power is supplied from the AV control unit.

Around View Monitor Control Unit
- The around view monitor control unit is installed behind the glove
box.
- Vehicle width guide lines, predicted course line, vehicle front
guiding
line and vehicle side line, and vehicle icon are displayed and
combined with camera images.

Rear View Camera
- The rear view camera is installed in the back door finisher.
- Power is supplied from the around view monitor control unit.

Side Cameras
- The side cameras are installed in the door mirrors.
- Power is supplied from the around view monitor control unit.

Front Camera
- The front camera is installed in the front grille.
- Power is supplied from the around view monitor control unit.

Steering Angle Sensor
- Steering sensor is installed to the spiral cable.
- Steering angle sends the steering signal necessary for predictive
course line via CAN communication.

Rod Antenna, Antenna Amp., Satellite Antenna and Antenna Feeder
RADIO ANTENNA AND SATELLITE ANTENNA
AM/FM radio rod antenna, antenna base and satellite antenna are located on
the rear of the roof. The antenna
amp. and satellite antenna are built into the antenna base.

ANTENNA FEEDER LAYOUT

- Antenna base (antenna amp. and
satellite antenna)
- Rod Antenna
- M503
- M502
- M130, M501
- M129, M500
- M142
- M139
GPS Antenna
- GPS antenna is installed in the instrument panel, behind the combination
meter.
- Power is supplied from the AV control unit.

SD Card
- Map data is memorized in the SD card.
- Map data is sent to the AV control unit from the SD slot.
SYSTEM
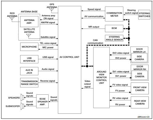
System Description
SYSTEM DIAGRAM

AUDIO SYSTEM
The audio system consists of the following component:
- AV control unit
- Bose speaker amp.
- Front tweeters
- Center speaker
- Front door speakers
- Rear door speakers
- Subwoofer
- USB interface
- AUX in jack
- Antenna base (rod antenna, antenna amp. and satellite antenna)
When the audio system is on, AM/FM signals received by the rod antenna are
amplified by the antenna amp.
and sent to the AV control unit. The AV control unit sends the audio signals to
the Bose speaker amp. The
Bose speaker amp. then sends the audio signals to the tweeters, speakers and
subwoofer.
Refer to Owner's Manual for audio system operating instructions.
NAVIGATION SYSTEM
Description
- The navigation system can be operated by control panel of the AV
control unit and display (touch panel) of
the AV control unit.
- Guide sound during the operation of the navigation system is
output from AV control unit to front tweeters.
- AV control unit calculates the vehicle location based on the
signals from GYRO (angle speed sensor), vehicle
sensor, and GPS satellite, as well as the map data from map SD-card. The
vehicle location is displayed
on the AV control unit.
POSITION DETECTION PRINCIPLE
The navigation system periodically calculates the vehicle's current position
according to the following three
signals:
- Travel distance of the vehicle as determined by the vehicle speed
sensor
- Turning angle of the vehicle as determined by the gyroscope
(angular velocity sensor)
- Direction of vehicle travel as determined by the GPS antenna (GPS
information)
The current position of the vehicle is then identified by comparing the
calculated vehicle position with map data
read from the map SD-card (map-matching), and indicated on the screen as a
vehicle mark. More accurate
data is judged and used by comparing vehicle position detection results found by
the GPS with the result by
map-matching.
The current vehicle position will be calculated by detecting the distance
the vehicle moved from the previous calculation point and its
direction.

|
Type |
Advantage |
Disadvantage |
| Gyroscope
(angular velocity sensor) |
Can detect the vehicle's turning angle quite
accurately. |
Direction errors may accumulate when vehicle is
driven for long distances without stopping. |
| GPS antenna
(GPS information) |
Can detect the vehicle's travel direction
(North/South/East/West). |
Correct direction cannot be detected when vehicle
speed is low. |
More accurate traveling direction is detected because priorities are set for
the signals from these two
devices according to the situation.
М
Map-matching compares a current location detected by the method
in the “Location Detection Principle” with a road map data from map
SD-card.
NOTE:
The road map data is based on data stored in the map SD-card.

The vehicle position may not be corrected under the following circumstances
and after driving for a certain
time when GPS information is difficult to receive. In this case, the vehicle
mark on the display must be corrected
manually.
- In map-matching, alternative routes to reach the destination will
be
shown and prioritized, after the road on which the vehicle is currently
driven has been judged and the vehicle mark has been repositioned.
Alternative routes will be shown in different order of priority, and
the incorrect road can be avoided if there is an error in distance
and/or direction.
Routes are of the same priority if two roads are running in parallel.
Therefore, the vehicle mark may appear on either of them alternately,
depending on maneuvering of the steering wheel and configuration
of the road.

- Map-matching does not function correctly when a road on which
the vehicle is driving is new and not recorded in the map SD-card,
or when road pattern stored in the map data and the actual road
pattern are different due to repair.
The map-matching function may find another road and position the
vehicle mark on it when driving on a road not present in the map.
Then, the vehicle mark may change to it when the correct road is
detected.
- Effective range for comparing the vehicle position and travel
direction
calculated by the distance and direction with the road data
read from the map SD-card is limited. Therefore, correction by
map-matching is not possible when there is an excessive gap
between current vehicle position and the position on the map.

GPS (Global Positioning System)
GPS (Global Positioning System) is developed for and is controlled
by the US Department of Defense. The system utilizes GPS satellites
(NAVSTAR), transmitting out radio waves while flying on an orbit
around the earth at an altitude of approximately 21,000 km (13,049
mile).
The receiver calculates the travel position in three dimensions (latitude/
longitude/altitude) according to the time lag of the radio waves
that four or more GPS satellites transmit (three-dimensional positioning).
The GPS receiver calculates the travel position in two dimensions
(latitude/longitude) with the previous altitude data if the GPS
receiver receives only three radio waves (two-dimensional positioning).
GPS position correction is not performed while stopping the
vehicle.

Accuracy of the GPS will deteriorate under the following conditions:
NOTE:
- The detection result has an error of approximately 10 m (32.81
ft) even with a high-precision three dimensional
positioning.
- There may be cases when the accuracy is lowered and radio waves
are stopped intentionally because the
GPS satellite signal is controlled by the US trace control center.
USB INTERFACE
- iPod® or music files in USB memory can be played.
- Sound signals are transmitted from USB interface to the AV control
unit and output to each speaker.
- iPod® is recharged when connected to USB interface.
AUX IN JACK
- Sound can be output from an external device by connecting a device
to the AUX in jack.
- AUX sound signals are transmitted to each speaker via AV control
unit.
SPEED SENSITIVE VOLUME SYSTEM
- Volume level of this system goes up and down automatically in
proportion to the vehicle speed.
- The control level can be selected by the customer.
HANDS-FREE PHONE SYSTEM
- Bluetooth® control is built into AV control unit.
- The connection between cellular phone and AV control unit is
performed with Bluetooth® communication.
- The voice guidance signal is input from the AV control unit and
output to the front speakers when operating
the cellular phone.
When A Call Is Originated
- Spoken voice sound output from the microphone (microphone signal)
is input to AV control unit.
- AV control unit outputs to cellular phone with Bluetooth®
communication as a TEL voice signal.
- Voice sound is then heard at the other party.
When Receiving A Call
- Voice sound is input to own cellular phone from the other party.
- TEL voice signal is input to AV control unit by establishing
Bluetooth® communication from cellular phone,
and the signal is output to front speakers.
AROUND VIEW MONITOR FUNCTION
- This system is equipped with wide-angle cameras on the front, rear
and right and left door mirrors.
- Images from front view, rear view, front-side view (RH side), and
birds-eye view are displayed to monitor the
vehicle surroundings.
- Around view monitor control unit expands the image received from
each camera to create each view.
- In front view and rear view, the vehicle width, distance lines and
predictive course lines are displayed.
- In front-side view, the vehicle distance guiding line and vehicle
width guiding line are displayed.
- Birds-eye view converts the images from the cameras into an
overhead view and displays the status of the
vehicle on the display. The vehicle icon that is displayed in the birds-eye
view is depicted by the around view
monitor control unit.
Display
The around view monitor combines and displays travel direction view (front or
rear), front-side view and birdseye
view.

Operation
- The around view monitor operates by pressing the CAMERA switch on
the AV control unit or by shifting the
selector lever to the R (reverse) position.
- When the selector lever is in any position other than R (reverse)
and the CAMERA switch is pressed, the
screen displays front travel direction view and birds-eye view. Pressing the
CAMERA switch again changes
birds-eye view to front-side view
- When the selector lever is placed in R (reverse), the screen
displays rear travel direction view and birds-eye
view. Pressing the CAMERA switch changes birds-eye view to front-side view
- In birds-eye view, the blind spot area is displayed in black to
show the border of the camera images. In addition,
red fixed lines are displayed in the 4 corners of the vehicle icon. After
pressing the CAMERA switch for
the first time or placing the selector lever in R (reverse) for the first
time, the blind spot area is highlighted in
yellow for 3 seconds and the red fixed lines blink five times.
- With the selector lever in any position other than R (reverse),
the around view monitor screen display is cancelled
3 minutes after pressing the CAMERA switch. The screen returns to the AV
control unit display.
- With the selector lever in R (reverse) position, the around view
monitor screen display remains on constantly.
To return to the AV control unit display, place the selector lever is in any
position other than R
(reverse).
- If camera image calibration is incomplete, the applicable camera
position is indicated as an error on the
birds-eye view display.
NOTE:
Calibration is necessary when replacing each camera or when replacing around
view monitor control unit.
Around view monitor screen transition

Front View
- The front view image improves the visibility of obstacles in front
of the vehicle and assists driving by displaying
images from birds-eye view and front-side view.
- The front view image displays the vehicle width guiding line and
vehicle distance guiding line, in addition to
the predictive course line according to the steering angle.
- If the steering angle is within approximately 90 degrees, the
predictive course lines on the left/right side are
displayed. If the steering angle exceeds approximately 90 degrees, only the
predictive course line on the
outside is displayed (opposite side of steering direction).
- The around view monitor control unit receives the steering angle
signal from steering angle sensor via CAN
communication, and controls the direction and distance of the predictive
course line.
- ON/OFF setting of predictive course line can be performed using
CONSULT.
Front view guiding lines

Rear View
Rear view guiding lines

Front-Side View
- The front-side view image improves the visibility of obstacles in
the front RH side of the vehicle and assists
backing and parking.
- The front-side view image displays the vehicle distance guiding
line and vehicle width guiding line.
Front-side view area and guiding line

Birds-Eye View
- The birds-eye view image improves the visibility of obstacles all
around the vehicle and assists backing and
parking.
- The images from the four cameras are converted into an overhead
view, and the surroundings of the vehicle
are displayed.
- The blind spot area is displayed on the image to specify the
boundary of the four cameras.
Birds-Eye view display image

Birds-Eye view display area

DIAGNOSIS SYSTEM (AV CONTROL UNIT)
Description
The AV control unit on board diagnosis performs the functions listed in the
table below:

Perform CONSULT diagnosis if the AV control unit on board diagnosis does not
start or the screen does not
display anything.
On Board Diagnosis Function
METHOD OF STARTING
- Turn the ignition ON.
- While pressing the APPS button, turn the TUNE-SCROLL dial
counterclockwise 3 or more clicks, then clockwise 3 or more
clicks, then counterclockwise 3 or more clicks. Shifting from current
screen to previous screen is performed by pressing BACK
button.

- The trouble diagnosis initial screen is displayed, and Version,
User Config, Radio, System State or Self Test can be selected.

CONSULT Function
CONSULT FUNCTIONS
CONSULT performs the following functions via communication with the AV
control unit.

ECU IDENTIFICATION
The part number of AV control unit is displayed.
SELF DIAGNOSTIC RESULT
Refer to AV-251, "DTC Index".
DATA MONITOR

CONFIGURATION
Refer to AV-289, "CONFIGURATION (AV CONTROL UNIT) : Description".
CAN DIAG SUPPORT MNTR
Refer to LAN-14, "CAN Diagnostic Support Monitor".
DIAGNOSIS SYSTEM (AROUND VIEW MONITOR CONTROL UNIT)
WITHOUT DRIVER ASSISTANCE SYSTEM
WITHOUT DRIVER ASSISTANCE SYSTEM : CONSULT Function
CONSULT FUNCTIONS
CONSULT performs the following functions via communication with the around
view monitor control unit.

ECU IDENTIFICATION
The part number of around view monitor control unit is displayed.
SELF DIAGNOSTIC RESULT
Refer to AV-257, "WITHOUT DRIVER ASSISTANCE SYSTEM : DTC Index".
DATA MONITOR

WORK SUPPORT


CONFIGURATION
Refer to AV-290, "CONFIGURATION (AROUND VIEW MONITOR CONTROL UNIT) :
Description".
CAN DIAG SUPPORT MNTR
Refer to LAN-14, "CAN Diagnostic Support Monitor".
WITH DRIVER ASSISTANCE SYSTEM
WITH DRIVER ASSISTANCE SYSTEM : CONSULT Function
CONSULT FUNCTIONS
CONSULT performs the following functions via communication with the around
view monitor control unit.

ECU IDENTIFICATION
The part number of around view monitor control unit is displayed.
SELF DIAGNOSTIC RESULT
Refer to AV-261, "WITH DRIVER ASSISTANCE SYSTEM : DTC Index".
DATA MONITOR

ACTIVE TEST

WORK SUPPORT


CONFIGURATION
Refer to AV-289, "CONFIGURATION (AV CONTROL UNIT) : Description".
CAN DIAG SUPPORT MNTR
Refer to LAN-14, "CAN Diagnostic Support Monitor".
Special Service Tool
The actual shape of the tools may differ from those illustrated here
Tool number
(TechMate No.)
Tool name
Description
—
(J-46534)
Trim T ...
AV CONTROL UNIT
Reference Value
VALUES ON THE DIAGNOSIS TOOL
TERMINAL LAYOUT
PHYSICAL VALUES
DTC Index
BOSE SPEAKER AMP
Reference Value
TERMINAL LAYOUT
PHYSICAL ...
Other materials:
Rear disc brake
BRAKE PAD
BRAKE PAD : Inspection
INSPECTION
Check brake pad wear thickness from an inspection hole (A) on cylinder
body. Check using a scale if necessary.
Wear thickness : Refer to BR-55, "Rear Disc Brake".
DISC BRAKE ROTOR
DISC BRAKE ROTOR : Inspection
Appearance
Check surfac ...
Bluetooth® Hands-Free Phone System
voice commands
To access the Bluetooth® Hands-Free Phone
System voice commands:
Press the button.
Say “Call” and then a name in the vehicle
phonebook to call that entry. Otherwise, say
“Phone” to access various phone commands.
If the Bluetooth® has been set to “Off”, the
s ...
Basic information
WARNING
Failure to follow the warnings and instructions for proper use of the AEB with Pedestrian Detection system on the Nissan Rogue could result in serious injury or death.
The AEB with Pedestrian Detection system is an assistive feature, not a substitute for the driver's attention or safe dri ...
© 2014-2025 Copyright t32.nirogue.com