COMPONENT PARTS
Component Parts Location

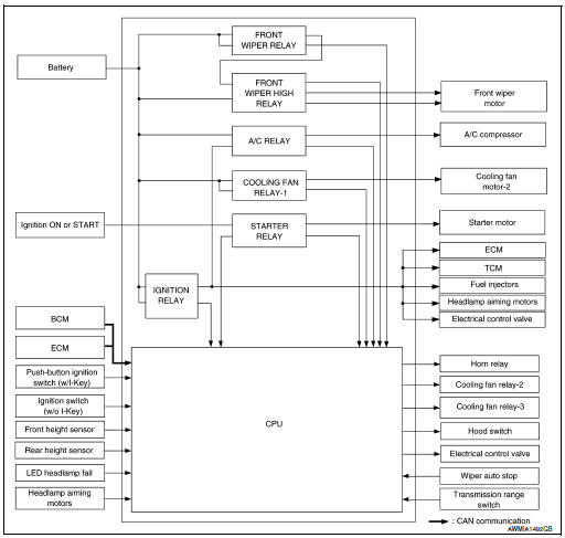
SYSTEM
RELAY CONTROL SYSTEM
RELAY CONTROL SYSTEM : System Description
SYSTEM DIAGRAM

DESCRIPTION
IPDM E/R activates the internal control circuit to perform the relay ON-OFF control according to the input signals from various sensors and the request signals received from control units via CAN communication.
CAUTION: IPDM E/R integrated relays cannot be removed.


RELAY CONTROL SYSTEM : Fail-safe
CAN COMMUNICATION CONTROL
When CAN communication with ECM and BCM is impossible, IPDM E/R performs fail-safe control. After CAN communication recovers normally, it also returns to normal control.
If No CAN Communication Is Available With ECM
|
Control part |
Fail-safe operation |
| Cooling fan |
|
| A/C compressor | A/C relay OFF |
If No CAN Communication Is Available With BCM
|
Control part |
Fail-safe operation |
| Front wiper motor |
|
| Horn | Horn OFF |
| Ignition relay-1 | The status just before activation of fail-safe is maintained. |
| Starter motor | Starter relay OFF |
IGNITION RELAY MALFUNCTION DETECTION FUNCTION

FRONT WIPER CONTROL
IPDM E/R detects front wiper stop position by a front wiper auto stop signal.
When a front wiper auto stop signal is in the conditions listed below, IPDM E/R stops power supply to wiper after repeating a front wiper 10 second activation and 20 second stop five times.
NOTE: This operation status can be confirmed on the IPDM E/R “Data Monitor” that displays “BLOCK” for the item “WIP PROT” while the wiper is stopped.
STARTER MOTOR PROTECTION FUNCTION
IPDM E/R turns OFF the starter relay to protect the starter motor when the starter relay remains active for 90 seconds.
SMART FIELD-EFFECT TRANSISTOR (FET)
SMART FIELD-EFFECT TRANSISTOR (FET) : System Description

A smart Field-Effect Transistor (FET) is a transistor used to monitor and control current flow on module outputs.
The IPDM E/R uses a smart FET protection strategy to prevent module damage in the event of excessive current flow. The smart FET protection strategy monitors its outputs for excessive current, and when a fault occurs, shuts down the output and records a DTC.
POWER CONSUMPTION CONTROL SYSTEM
POWER CONSUMPTION CONTROL SYSTEM : System Description
SYSTEM DIAGRAM

DESCRIPTION
Outline
Normal mode (wake-up)
Low power consumption mode (sleep)
Sleep Mode Activation
Wake-up Operation
DIAGNOSIS SYSTEM (IPDM E/R)
CONSULT Function (IPDM E/R)
APPLICATION ITEM
CONSULT performs the following functions via CAN communication with IPDM E/R.

ECU IDENTIFICATION
The IPDM E/R part number is displayed.
SELF DIAGNOSTIC RESULT
Refer to PCS-20, "DTC Index".
DATA MONITOR



ACTIVE TEST

CAN DIAG SUPPORT MNTR
Refer to LAN-14, "CAN Diagnostic Support Monitor".
Precaution
ECU diagnosis informationQuarter window glass
Exploded View
Quarter window glass
Quarter window glass molding
Body side outer
7.0 mm (0.28 in)
12.0 (0.47 in)
Adhesive
Clip
Removal and Installation
REMOVAL
Remove the luggage side upper finisher. Refer to INT-36, "LUGGAGE
SIDE UPPER FINISHER :
...
Terms
It is important to familiarize yourself with
the following terms before loading your
vehicle:
Curb Weight (actual weight of your
vehicle) - vehicle weight including:
standard and optional equipment, fluids,
emergency tools, and spare tire
assembly. This weight does not include
...
Diagnosis system (combination meter)
Description
COMBINATION METER SELF-DIAGNOSIS MODE
The following meter functions can be checked during Combination Meter
Self-Diagnosis Mode:
Pointer sweep of speedometer, tachometer and gauges.
Illumination of all LCD segments and color patterns for meter
displays.
I ...