Nissan Rogue Service Manual: Radiator
Exploded View
REMOVAL

- Reservoir tank
- Reservoir tank cap
- Reservoir tank hose
- Mounting rubber (upper)
- Radiator cap
- Radiator
- CVT fluid cooler hose
- Clamp
- CVT fluid cooler hose
- Mounting rubber (lower)
- O-ring
- Drain plug
- Clamp
- Radiator hose (lower)
- Cooling fan assembly
- Clamp
- Radiator hose (upper)
- To water outlet
- To water inlet
- To CVT fluid warmer
Removal and Installation
REMOVAL
WARNING:
Do not remove the radiator cap when the engine is hot. Serious burns could occur
from high-pressure
engine coolant escaping from the radiator. Wrap a thick cloth around the cap.
Slowly push down and
turn it a quarter turn to allow built-up pressure to escape. Carefully remove
the cap by pushing it down
and turning it all the way.
NOTE:
When removing components such as hoses, tubes/lines, etc., cap or plug openings
to prevent fluid from spilling.
- Disconnect battery negative terminal.
- Disconnect battery positive terminal. Refer to PG-77, "Exploded View".
- Depower SRS system. Refer to SR-2, "Service".
- Drain engine coolant from radiator. Refer to CO-8, "Draining".
CAUTION:
- Perform this step when the engine is cold.
- Do not spill engine coolant on the drive belt.
- Remove engine under cover. Refer to EXT-37, "ENGINE UNDER COVER :
Removal and Installation".
- Remove over fender. Refer to EXT-30, "FRONT OVER FENDER : Removal
and Installation".
- Remove front air spoiler. Refer to EXT-16, "Exploded View".
- Remove fender protector side cover. Refer to EXT-28, "FENDER
PROTECTOR : Exploded View".
- Remove radiator core support (upper). Refer to EXT-16, "Exploded
View".
- Remove radiator hose (upper/lower) from radiator. Refer to CO-13,
"Exploded View".
CAUTION:
Do not spill engine coolant on the drive belt.
- Remove clamps from radiator hose (upper/lower), (if necessary).
NOTE:
Radiator hoses have glued on clamps.
- Apply heat gun at glued location, usually located on the
underside of the radiator hose (upper/lower), a
short distance from clamp.
- While applying heat, simultaneously wiggle or pressure the
clamp tab gently until it can be removed
from the hose without damaging it.
WARNING:
Wear hand protection while applying heat to remove glue.
- Remove condenser. Refer to HA-37, "CONDENSER : Removal and
Installation".
CAUTION:
Be careful not to damage the condenser.
- Remove cooling fan assembly. Refer to CO-17, "Exploded View".
CAUTION:
Be careful not to damage the radiator.
- Remove radiator.
CAUTION:
Be careful not to damage or scratch the radiator.
INSTALLATION
Installation is in the reverse order of removal.
- After installation, refill coolant and check for leaks. Refer to
CO-9, "Refilling" and CO-8, "Inspection".
CAUTION:
Do not spill coolant in engine compartment. Use a shop cloth to absorb coolant.
Radiator hose
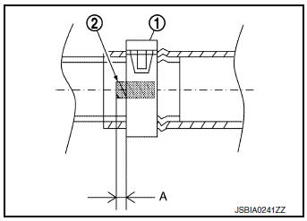
NOTE:
- Once hose clamp has been placed into position, place a small
amount of glue between the hose and the clamp (A).

- Insert the radiator hose (1) all the way to the stopper (2) or by 33
mm (1.30 in) (hose without a stopper).

Unit: mm (in)
- Radiator side
- Engine side
- For the orientation of the hose clamp pawl, refer to the figure.

*: Refer to the illustrations for the specific position each hose clamp tab.

E. View E
: Vehicle upper
: Vehicle back side
- The angle (b) created by the hose clamp pawl and the specified
line (A) must be within ±30 as shown in the figure.

- To install hose clamps (1), check that the dimension (A) from the
end of the hose clamp on the radiator hose to the hose clamp is
within the reference value.

Dimension “A” : (-3) – (+3) mm [(-0.12) − (+0.12) in]
Inspection
INSPECTION AFTER INSTALLATION
- Start and warm up the engine. Check visually and verify that there
are no engine coolant leaks, if engine
coolant leaks are found perform inspection. Refer to CO-8, "Inspection".
Exploded View
Fan shroud
Fan motor (LH)
Fan motor (RH)
Cooling fan (RH)
Cooling fan (LH)
Front
Removal and Installation
REMOVAL
WARNING:
Do not remove the radia ...
Other materials:
Vehicle security system
The vehicle security system provides visual and
audible alarm signals if someone opens the
doors, trunk lid or the hood when the system is
armed. It is not, however, a motion detection type
system that activates when a vehicle is moved or
when a vibration occurs.
The system helps deter vehic ...
EPS warning lamp does not turn off
Description
EPS warning lamp does not turn OFF several seconds after engine started.
Diagnosis Procedure
1.PERFORM SELF-DIAGNOSIS
With CONSULT
Turn the ignition switch OFF to ON.
Perform “EPS” self-diagnosis.
Is any DTC detected?
YES >> Check the DTC. Refer to STC ...
Repairing material
Foam Repair
During factory body assembly, foam insulators are installed in certain body
panels and locations around the
vehicle. Use the following procedure(s) to replace any factory-installed foam
insulators.
URETHANE FOAM APPLICATIONS
Use commercially available Urethane foam for sealant (f ...
© 2014-2026 Copyright t32.nirogue.com