Nissan Rogue Service Manual: Fuel injector and fuel tube
Exploded View

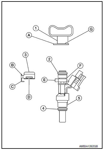
- Rocker cover
- Cylinder head
- Fuel tube
- Clip
- O-ring (green)
- Fuel injector
- O-ring (black)
Front
Removal and Installation
WARNING:
- Put a "CAUTION: FLAMMABLE" sign in the workshop.
- Be sure to work in a well ventilated area and furnish workshop
with a CO2 fire extinguisher.
- Do not smoke while servicing fuel system. Keep open flames and
sparks away from the work area.
CAUTION:
- Apply new engine oil before installing the parts, as shown
above.
- Do not remove or disassemble parts unless instructed as shown.
REMOVAL
- Release the fuel pressure. Refer to EC-144, "Work Procedure".
- Remove intake manifold. Refer to EM-26, "Removal and
Installation".
- Remove front exhaust tube and ring gasket. Refer to EX-5,
"Exploded View".
- Disengage red locking clip on quick connector.
- Disconnect the fuel hose quick connector (1) at the fuel tube
side (A).

CAUTION:
- Do not pull with lateral force applied. O-ring inside quick
connector may be damaged.
- Prepare container and cloth beforehand as fuel will leak out.
- Avoid fire and sparks.
- Keep parts away from heat source. Especially, be careful when
welding is performed around
them.
- Do not expose parts to battery electrolyte or other acids.
- Do not bend or twist connection between quick connector and
fuel feed tube during installation/
removal.
- To keep the connecting portion clean and to avoid damage and
foreign materials, cover them
completely with plastic bags or something similar.
- Do not reuse O-ring.
- Disconnect sub-harness for injectors at engine front side, and remove it
from bracket.
- Disconnect the fuel injector harness connectors.
- Loosen the bolts in the reverse order shown, then remove fuel
tube and fuel injectors as an assembly.
- Remove the fuel injectors from the fuel tube, (if necessary).
- Release the clip.
- Pull fuel injector straight out of the fuel tube.
CAUTION:
- Be careful not to damage the nozzle.
- Avoid any impact, such as dropping the fuel injector.
- Do not disassemble or adjust the fuel injector.

INSTALLATION
- Install new O-rings on the fuel injector.
CAUTION:
- Do not reuse O-rings.
- Upper and lower O-rings are different. Be careful not to confuse
them.
Fuel tube side : Black
Nozzle side : Green
- Handle O-rings with bare hands only. Do not wear gloves.
- Lubricate O-rings with new engine oil.
- Do not clean O-rings with solvent.
- Make sure that O-ring and its mating part are free of foreign
material.
- Be careful not to scratch O-rings during installation.
- Do not twist or stretch the O-ring. If the O-ring was stretched
while it is attached, do not insert it
into the fuel tube immediately.
- Install the fuel injector (5) into the fuel tube (1) with the following
procedure:
(2): O-ring (black)
(4): O-ring (green)
- Insert the new clip (3) into the clip groove (F) on fuel injector
(5).
- Insert the clip (3) so that protrusion (E) of fuel injector (5)
matches cutout (C) of the clip (3).
CAUTION:
- Do not reuse clip (3), replace it with a new one.
- Be careful to keep clip from interfering with O-ring. If
interference occurs, replace O-ring.
- Insert fuel injector (5) into fuel tube (1) with clip (3)
attached.
- Insert fuel injector (5) so that protrusion (A) of fuel tube (1)
matches cut-out (B) of the clip (3).
- Check that fuel tube flange (G) is securely fixed in flange
groove (D) on the clip (3).
- Check that installation is complete by checking that fuel injector
(5) does not rotate or come off.

- Install fuel tube and fuel injector assembly with the following
procedure.
- Insert the tip of each fuel injector into intake manifold.
- Tighten the bolts to specification in the numerical order as
shown.
CAUTION:
After properly connecting fuel tube assembly to injector
and fuel hose, check connection for fuel leaks.

- Connect the fuel hose quick connector.
- Make sure no foreign substances are deposited in and around the
fuel tube and quick connector, and
there is no damage to them.
- Thinly apply new engine oil around the fuel tube tip end.
- Align center to insert quick connector straight onto fuel tube.
- Insert fuel tube into quick connector (1) until the spool (B) on
fuel
tube is inserted completely.
- Engage red locking clip on quick connector.
CAUTION:
- Hold at position (A) as shown, when inserting the fuel
tube into the quick connector (1).
- Carefully align to center to avoid inclined insertion to
prevent
damage to the O-ring inside the quick connector (1).
- Insert the fuel tube until you hear a “click” sound and
actually feel the engagement.
- To avoid misidentification of engagement with a similar
sound.
- Do not reuse O-ring.
- Ensure that red locking clip is firmly secured.
- Installation of the remaining components is in the reverse order
of removal.

INSPECTION AFTER INSTALLATION
Make sure there are no fuel leaks at connections as follows:
- Apply fuel pressure to fuel lines by turning ignition switch ON
(with engine stopped). Then check for fuel
leaks at connections.
- Start the engine and rev it up and check for fuel leaks at
connections.
- Perform procedures for “Throttle Valve Closed Position Learning”
after finishing repairs. Refer to EC-
140, "Work Procedure".
- If electric throttle control actuator is replaced, perform
procedures for “Idle Air Volume Learning” after
finishing repairs. Refer to EC-141, "Work Procedure".
WARNING:
Do not touch engine immediately after stopping as engine is extremely hot.
NOTE:
Use mirrors for checking on connections out of the direct line of sight.
Oil filler cap
Rocker cover
Rocker cover gasket
Refer to INSTALLATION
Engine front
Removal and Installation
REMOVAL
Remove intake manifold. Refer to ...
Exploded View
Cylinder block
Timing chain slack guide
Chain tensioner
Timing chain
Camshaft sprocket (EXH)
Camshaft sprocket (INT)
Oil filte ...
Other materials:
U1000 CAN COMM circuit
Description
CAN (Controller Area Network) is a serial communication system for real time
application. It is an on-vehicle
multiplex communication system with high data communication speed and excellent
error detection ability.
Many electronic control units are equipped into vehicles, and ea ...
Removal and installation
AV CONTROL UNIT
Exploded View
AV control unit bracket (LH)
AV control unit
AV control unit bracket (RH)
Removal and Installation
REMOVAL
CAUTION:
Before disconnecting the AV control unit and battery terminals,
turn the ignition switch OFF and wait
at least 30 secon ...
Liftgate
WARNING
Always be sure the liftgate has been
closed securely to prevent it from opening
while driving.
Do not drive with the liftgate open. This
could allow dangerous exhaust gases
to be drawn into the vehicle. Refer to
“Exhaust gas (carbon monoxide) ...
© 2014-2026 Copyright t32.nirogue.com