FUEL LEVEL SENSOR UNIT
Exploded View
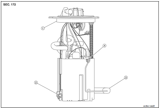
Fuel Level Sensor Unit

Disassembly and Assembly
NOTE: Fuel level sensor unit and fuel tank temperature sensor are replaced as and assembly.
DISASSEMBLY
NOTE: Hold connector with your fingers, because there is no tab for releasing stopper. Pull harness connector straight downward.


) and remove fuel level
sensor unit (2) from fuel filter and fuel pump assembly (1).CAUTION:

ASSEMBLY


INSPECTION AFTER INSTALLATION
Use the following procedure to check for fuel leaks.
SERVICE DATA AND SPECIFICATIONS (SDS)
Fuel Tank
Standard and Limit
| Fuel tank capacity | Approx. 55 ( 14-1/2
US gal, 12-1/8 Imp gal) |
| Fuel recommendation | Refer to MA-11 |
EVAP canister filter
Exhaust SystemStructure and operation
Positive Crankcase Ventilation
This system returns blow-by gas to the intake manifold.
The positive crankcase ventilation (PCV) valve is provided to conduct crankcase
blow-by gas to the intake
manifold.
During partial throttle operation of the engine, the intake manifold sucks the
bl ...
Garage mode system
The liftgate can be set to open to a specific
height by performing the following:
1. Open the liftgate.
2. Pull the liftgate down to the desired
position and hold the liftgate (the liftgate will have some resistance when
being manually adjusted).
3. While holding the liftgate in position,
press an ...
Diagnosis system (BCM) (without intelligent key system)
COMMON ITEM
COMMON ITEM : CONSULT Function (BCM - COMMON ITEM)
APPLICATION ITEM
CONSULT performs the following functions via CAN communication with BCM.
Direct Diagnostic Mode
Description
Ecu Identification
The BCM part number is displayed.
Self Diagnostic ...