Nissan Rogue Service Manual: Drive belts
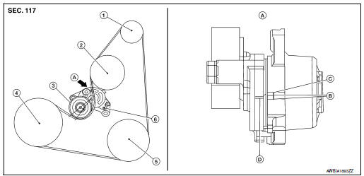
Exploded view

- Generator pulley
- Water pump pulley
- Drive belt auto-tensioner
- Crankshaft pulley
- A/C compressor pulley
- Drive belt retainer boss
- View A
- New drive belt range
- Possible use range
- Indicator (notch)
Checking
WARNING:
Inspect the drive belt only when the engine is stopped.
- Visually check entire drive belt for wear, damage or cracks.
- Check that the drive belt auto-tensioner indicator is within the
possible use range.
NOTE:
- When new drive belt is installed, the drive belt auto-tensioner
indicator should be within the new drive
belt range.
- Check the drive belt auto-tensioner indicator when the engine
is cold.
- If the drive belt auto-tensioner indicator is out of the possible
use range or belt is damaged, replace drive
belt.
Tension adjustment
Belt tension is not manually adjustable. It is automatically adjusted by the
drive belt auto-tensioner.
Removal and installation
REMOVAL
- Remove wheel and tire (RH) using a power tool.
- Remove engine under cover. Refer to EXT-37, "ENGINE UNDER COVER :
Removal and Installation"
- Remove fender protector side cover. Refer to EXT-28, "FENDER
PROTECTOR : Exploded View".
- Securely hold the hexagonal part (A) of drive belt auto-tensioner
(1) using suitable tool, and move in the direction of arrow (loosening
direction of tensioner).
- Insert a rod approximately 6 mm (0.24 in) in diameter through
the rear of the drive belt auto-tensioner into retaining boss (B) to
lock drive belt auto-tensioner pulley.
WARNING:
Avoid placing hand in a location where pinching may occur
if the holding tool accidentally comes off.
NOTE:
Leave drive belt auto-tensioner pulley arm locked until drive belt
is installed again.
- Loosen drive belt from drive belt auto-tensioner and then remove
it from the other pulleys.
- Installation of remaining components is in the reverse order of
removal.

INSTALLATION
Installation is in the reverse order of removal.
- Install the drive belt onto all of the pulleys except for the
drive belt auto-tensioner. Then install the drive
belt onto drive belt auto-tensioner last.
CAUTION:
- Confirm belts are completely set on the pulleys.
- Check for engine oil and engine coolant. Be sure they are not
adhered to the drive belt and each
pulley groove.
- Release the drive belt auto-tensioner and apply tension to drive
belt.
WARNING:
Avoid placing hand in a location where pinching may occur if the holding tool
accidentally comes
off.
- Turn crankshaft pulley clockwise several times to equalize tension
between each pulley.
- Confirm the indicator is within the possible use range. Refer to
EM-13, "Checking"
- Install wheel and tire (RH). Refer to WT-57, "Adjustment".
Removal and installation of drive belt auto-tensioner

- Drive belt auto-tensioner
REMOVAL
CAUTION:
The complete drive belt auto-tensioner must be replaced as a unit, including the
pulley.
- Remove the drive belt. Refer to EM-13, "Removal and Installation".
- Remove the drive belt auto-tensioner.
INSTALLATION
Installation is in the reverse order of removal.
CAUTION:
Install the drive belt auto-tensioner carefully so not to damage the water pump
pulley.
Exploded view
Mass air flow sensor
Air cleaner filter
Air cleaner case (lower)
Air duct assembly
Grommet
Resonator bracket (front)
Resonator bracket (rear)
...
Other materials:
Precaution
Precaution for Supplemental Restraint System (SRS) "AIR BAG" and "SEAT
BELT
PRE-TENSIONER"
The Supplemental Restraint System such as “AIR BAG” and “SEAT BELT
PRE-TENSIONER”, used along
with a front seat belt, helps to reduce the risk or severity of injury to the
...
Diagnosis system (BCM) (with intelligent key system)
COMMON ITEM
COMMON ITEM : CONSULT Function (BCM - COMMON ITEM)
APPLICATION ITEM
CONSULT performs the following functions via CAN communication with BCM.
SYSTEM APPLICATION
BCM can perform the following functions.
BUZZER
BUZZER : CONSULT Function (BCM - BUZZER)
DATA MONITOR
ACTIV ...
ECU diagnosis information
BCM
Reference Value
NOTE:
The Signal Tech II Tool (J-50190) can be used to perform the following
functions. Refer to the Signal Tech II
User Guide for additional information.
Activate and display TPMS sensor IDs
Display tire pressure reported by the TPMS sensor
Read T ...
© 2014-2026 Copyright t32.nirogue.com