Description
NOTE: This vehicle is diagnosed using the CONSULT-III plus.

Function and System Application


x: Applicable
1: If equipped
CONSULT Data Link Connector (DLC) Circuit
INSPECTION PROCEDURE
If the CONSULT cannot diagnose the system properly, check the following items.
| Symptom | Check item |
| CONSULT cannot access any system. |
|
| CONSULT cannot access individual system. (Other systems can be accessed.) |
|
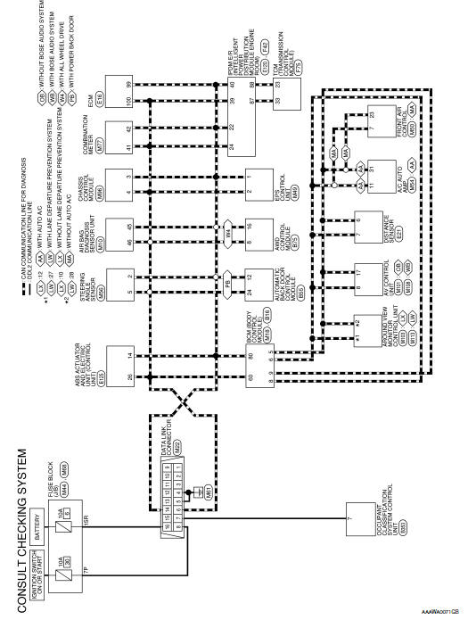
NOTE: The DDL2 circuits and CAN communication lines from DLC pins 6, 7 and 14 may be connected to more than one system. A short in a DDL circuit or CAN lines connected to a control unit in one system may affect CONSULT access to other systems. For a complete DDL circuit layout, refer to GI-51, "Wiring Diagram - CONSULT/ GST CHECKING SYSTEM". For a complete CAN line layout, refer to LAN-35, "Wiring Diagram - CAN SYSTEM -".
Wiring Diagram - CONSULT/GST CHECKING SYSTEM

Circuit inspection
EngineEcu diagnosis information
ECM
Reference Value
VALUES ON THE DIAGNOSIS TOOL
NOTE:
The following table includes information (items) inapplicable to this vehicle.
For information (items) applicable
to this vehicle, refer to CONSULT display items.
Numerical values in the following table are reference values.
These v ...
How to use the [ ] button
For additional information, refer to the separate
Navigation System Owner’s Manual regarding
the “SiriusXM® Travel Link”, and “Traffic” features.
For additional information, refer to “Nissan-
ConnectSM with Mobile Apps” in this section
regarding “My Apps” key.
For ad ...
Basic information
WARNING
In freezing temperatures, the washer solution may freeze on the windshield and limit visibility, increasing the risk of an accident. Warm the windshield with the defroster before using the washer.
CAUTION
Do not operate the washer continuously for more than 30 seconds.
Do not operate the ...