SRS AIR BAG SYSTEM
SRS AIR BAG SYSTEM : System Description
SYSTEM DIAGRAM

DESCRIPTION
SRS Collision Modes

OCCUPANT CLASSIFICATION SYSTEM
OCCUPANT CLASSIFICATION SYSTEM : System Description
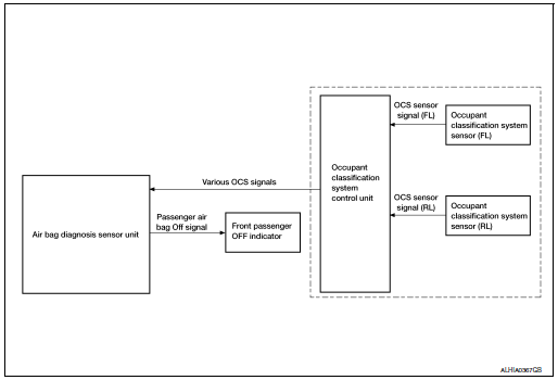
SYSTEM DIAGRAM

DESCRIPTION
The occupant classification system (OCS) identifies different size occupants, out of position occupants, and detects if child seat is present in the front passenger seat. The OCS control unit (2) receives inputs from the occupant classification sensors (1) (located on the passenger seat track assembly). Depending on classification of the passenger, the OCS sends a signal to the air bag diagnosis sensor unit. The air bag diagnosis sensor unit uses this signal and the seat belt buckle switch RH signal to determine deployment or non deployment of the passenger front air bag in the event of a collision. Depending on the signals received, the air bag diagnosis sensor unit can disable the passenger front air bag completely. The OCS (weight sensors) must be set to zero point using CONSULT after servicing the OCS system.
NOTE:
Passenger Air Bag Status Conditions

NOTE: Passenger does not meet Occupant Classification System specifications for passenger air bag activation.

SEAT BELT WARNING LAMP SYSTEM
SEAT BELT WARNING LAMP SYSTEM : System Description
SYSTEM DIAGRAM

The seat belt warning lamp (1) will remind the driver if the driver or front passenger seat belt should be buckled. The system works in conjunction with the occupant classification system. Refer to SRC- 13, "OCCUPANT CLASSIFICATION SYSTEM : System Description".

Seat Belt Warning System Operation

Component parts
Diagnosis system (air bag)Water hose
Exploded View
Water outlet
Hose clamp
Water hose A
Clip
CVT oil warmer
Transaxle assembly
Water hose B
Heater thermostat
Water hose C
: Always replace after every
disassembly.
: N·m (kg-m, ft-lb)
Removal and Installation
REMOVAL
WARNING:
Do not remove the rad ...
Anti-lock Braking System (ABS)
WARNING
The Anti-lock Braking System (ABS) is a
sophisticated device, but it cannot prevent
accidents resulting from careless
or dangerous driving techniques. It can
help maintain vehicle control during
braking on slippery surfaces. Remember
that stopping dis ...
Warning systems switch (if so equipped)
Warning systems switch (if so equipped)
The warning systems switch is used to turn on
and off the warning systems (Lane Departure
Warning (LDW), Forward Collision Warning
(FCW) and Blind SpotWarning (BSW) systems)
that are activated using the settings menu on the
vehicle information displa ...